FreeDV plus Video

Setting Up Your USB Sound Card for Input Monitoring

Just what is input monitoring, anyway?

Introduction ·  The Signal ·  Hardware ·  PureSignal ·  Software ·  Operating ·  Technical ·  Contacts


Introduction
Your USB sound card may be software-configurable for input monitoring. Some USB cards come configured for input monitoring (and cannot be un-configured!). So what is input monitoring?

Input monitoring passes the sound card mic input on to the output. This feature is useful when one would like to play music from a MIDI player through the speakers of a laptop PC. With FreeDV plus Video, input monitoring can be used to pass a FreeDV baseband signal to the Speaker output after summing with the video baseband signal. "Input monitoring" is also referred to as:

"Mic monitoring"

"Sidetone/Voice feedback"

"Pass-through mixing"

Input monitoring is illustrated by the simplified functional diagram in Figure 1 below.


Figure 1 (below): USB sound card simplified functional diagram.

Input monitoring

Turtle Beach Amigo II USB Sound Card
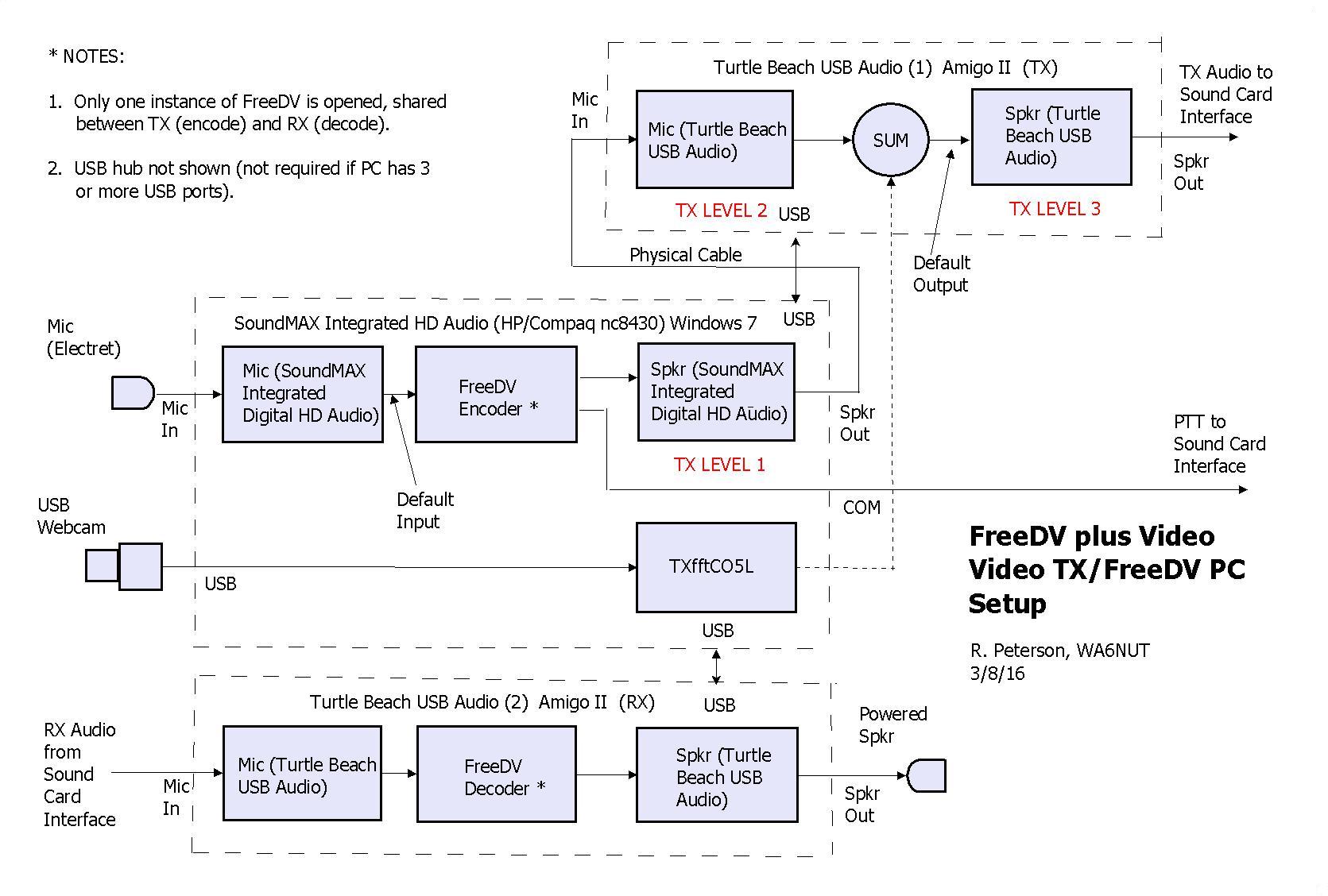
The default setup for the Video TX/FreeDV PC (as shown below in the Figure 2 software signal flow diagram) was designed around the motherboard sound card and two USB sound cards (the author used Turtle Beach Amigo II USB sound cards, sound cards with built-in input monitoring -- but Turtle Beach now lists the Amigo II as a "legacy" discontinued device). The link below provides information on USB sound cards with built-in input monitoring. See the post by "Xiwnzr," which suggests using the Syba SD-CM-UAUD USB sound card, an inexpensive device with Microphone-Mute capability. The Logitech USB sound card mentioned in the post is the device supplied with the Logitech G430 gaming headset. It is similar in appearance and price to the Amigo II, and is currently available as a separate item from the Amazon vendor "ienza."
USB Sound Card Link - - Syba Link - - Amazon Link

The TX USB sound card (used to set "TX LEVEL 2" and "TX LEVEL 3") requires input monitoring so that the FreeDV baseband signal from the motherboard sound card Speaker output appears at the TX USB sound card Speaker output after summing with the baseband video signal. The Turtle Beach Amigo II sound cards are ideal for this purpose, as they are designed with input monitoring as a built-in feature.

Other USB Sound Cards
But what if a different USB sound card is used for the TX USB sound card in Figure 2? Most USB sound cards are not designed with input monitoring as a default setting. However, using the Windows Sound driver, input monitoring can be set (or unset) by the user as the application requires. For FreeDV plus Video, if the TX USB sound card (Figure 1) does not provide built-in input monitoring, you can configure it through the Windows Sound driver in your PC. Procedures for doing this are found at the links below (choose the link corresponding to your particular version of Windows):
Windows Vista Link - - Windows 7/8 Link - - Windows 10 Link - - Windows 10 Link (Video)

Figure 2 (below): Software signal flow diagram for Video TX/FreeDV PC

Video TX/FreeDV PC Setup


- 20 July 2013 -

Back to WA6NUT home page