
|
| |
Die
elektronische Morsetaste auf dem PC
oder ein Analysetool für ein perfektes Geben
| Tastennamen: |
Computertaste,
PC-Key, ... |
| Gebeprinzip: |
Emulation einer
elektronischen Morsetaste auf dem PC. |
| Arbeitsweise: |
Computerprogramm mit umfangreichen betrieblichen
Möglichkeiten für die Wabbler-Handtastung mit einem oder zwei
Paddles. |
| Frequenzen: |
Meist auf den
"flotten"
Frequenzen...
|
Hinweis:
|
DOS-Programm - ggf. mit
platformübergreifendem DOS-Emulator
|
PC-Key ist eine DOS-basierte Computerelektronik mit einem internen
Gebe-Morse-Decoder, der unerbittlich eigene Fehler zeigt. Eine
perfekte Kontrolle zum Geben!
Das Programm ist besonders für das schnellere Morsen (Schnellmorsen) geeignet, kann man doch hier die
eingestellte Gebegeschwindigkeit mit dem in der Praxis tatsächlich
erfolgten Geschwindigkeits-Durchsatz
vergleichen. Der Telegrafist lernt,
dass die eingestellte Geschwindigkeit noch lange nicht das
tatsächliche Tempo ist (Netto-Brutto-Betrachtung).
Mit einem alten DOS-Rechner (auch mit früheren Windows-Versionen)
wäre ein aktiver Betrieb auch heute noch möglich, werden alte
Rechner für besondere Anwendungen oft weiterhin genutzt. -
Gleichwohl zeigt diese elektronische Morsetaste für den PC
Möglichkeiten und Reize für neuere, modernere Entwicklungen
auf.
Wichtig: Das elektronische Geben lernen ist ein Teil vom Morsen lernen!
Electronic Keyer Program (PC-Elbug) von DF4KV
Beitrag von Ulrich Strate, DF4KV
Beschreibung:
Dieses kleine Programm emuliert eine elektronische Morsetaste
(Elbug) auf dem PC. Der Geber (Ein- oder Doppelhebelausführung)
wird über den LPT1- Druckeranschluss angeschlossen, hier kann
beispielsweise das N6TR- Contestinterface verwendet werden. Eine
einfache Schaltungsbeschreibung findet sich am Schluss dieses
Textes.
Die gesendeten Zeichen werden unmittelbar decodiert und auf dem
Bildschirm ausgegeben; zugleich erfolgt eine Anzeige der effektiven
gemessenen Geschwindigkeit nach PARIS-Norm.
Diverse Parameter, wie z. B. Geschwindigkeit, Tastkompensation,
Punkt-/ Strichspeicher- Einstellungen, können individuell verändert
und so eine Reihe von Standard- Elbugschaltungen nachgebildet
werden.
Die Feinauflösung der PC-Uhr beträgt bei diesem Programm 429
Mikrosekunden, daher erfolgen alle zeitrelevanten
Parameteränderungen mit dieser Schrittweite.

Die Einzelheiten:
Dieses Programm sollte stets nur in reinem DOS- Modus gestartet
werden. Der Start in einer Windows-DOS-Box wurde nicht getestet und
wird nicht empfohlen. Der Aufruf erfolgt von der DOS-Kommandozeile
mit KV [CONFIG-DATEINAME]. Optionaler Parameter: Dateiname im
DOS(8/3)-Format. Standardname ist KV.CF. Das Programm speichert
alle wichtigen Parameter in dieser Konfigurationsdatei im ASCII-
Format ab; der Neustart erfolgt mit den zuletzt gewählten
Einstellungen.
Die Einstellungen sind im rechten oberen Anzeigefenster sichtbar.
Sie können über die Tastatur verändert werden.
Tastatur-Funktionen:
F10: PROGRAMMENDE
Zifferntasten 1..8 auf dem Hauptblock:
GESCHWINDIGKEITS-GROBEINSTELLUNG in 10-WPM-Schritten:
1 steht dabei für 10 WPM, 5 für 50 WPM usw.
PLUS / MINUS auf dem Ziffernblock:
M / N alternativ (wichtig für Notebooks)
SCHNELLER / LANGSAMER in 429-Mikrosekunden-Schritten
Die Eingabe ist auf maximal ca. 82 WPM begrenzt; sollten Sie eine
schnellere Version benötigen, senden Sie bitte eine EMail an den
Programmautor ;-)
<TAB> (Tabulator) : Abstimmtaste; Dauertastung für
Abstimmzwecke
Abbruch durch Drücken einer anderen Taste.
Zur Sicherheit gibt es hier ein Zeitlimit von 45 Sekunden.
X / C: Strich-Punktverhältnis (RATIO), einstellbar von 2,0 bis
5,0
(dargestellte Werte : 20 .. 50) Es sollte im Normalfall nicht
notwendig sein, diesen Wert abweichend vom Normwert 3,0
einzustellen.
B: BEEP PC-Lautsprecherton 750 Hz EIN/AUS
L: ZEICHENVERLÄNGERUNG Kompensationseinstellung(siehe unten)
S: ZEICHENVERKÜRZUNG Kompensationseinstellung(siehe unten)
A: AUTOMATISCHER ZEICHENABSTAND EIN/AUS
E: PUNKTSPEICHER EIN/AUS
T: STRICHSPEICHER EIN/AUS
D: DYNAMISCHE Punkt-/Strichspeichercharakteristik
EIN/AUS:
Sollte bei Squeeze(iambic)-Technik vorteilhaft sein, da bei
Auftreten des Squeeze-Zustands die Speicher gelöscht werden
(Vermeidung störender Nachlaufzeichen).
Zum Parameter "Kompensation":
Dieser erlaubt die Korrektur etwaiger Zeichenverzerrungen, die im
Sender (z. B. bei eingeschaltetem QSK) auftreten (Zeitangabe in
Mikrosekunden). Wird beispielsweise festgestellt, dass der Sender
die CW- Zeichen um 2 Millisekunden verlängert, kann durch
Einstellung von COMPENS: -2000 wieder das 1:1-Norm-Tastverhältnis
hergestellt werden. Der Wertebereich für COMP reicht von -12000 bis
12000.
Zur Geschwindigkeitsmessung
Grundlage ist die Bestimmung der Telegrafiergeschwindigkeit nach
dem PARIS-System, das aus der Zeichenverteilung bei typischem
Klartext abgeleitet ist. Dieses Verfahren stellt den
internationalen Standard dar und wird bei Prüfungen und
CW-Wettbewerben verwendet. Basis ist die Dauer eines Punktes
P[msec]: die Geschwindigkeit G[BpM] ergibt sich bei Einhaltung der
Normverhältnisse zu G = 6000 / P. Die Messung der effektiven
Geschwindigkeit ist als Hilfestellung zur Beurteilung der eigenen
Gebeweise gedacht: beim Geben eines längeren Textes sollte eine
Effektivgeschwindigkeit erreicht werden können, die nur wenig
unterhalb der eingestellten Geschwindigkeit liegt.
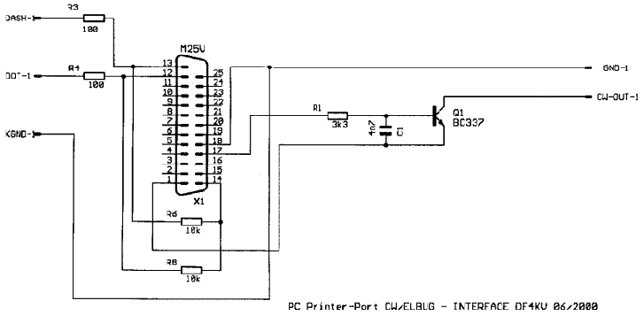
Anschluss des Gebers an die PC-Druckerschnittstelle:
Eine Schaltung findet sich z. B. im Handbuch zur
N6TR-Contestsoftware. Hier die Kurzbeschreibung einer noch
einfacheren Schaltung:
Zum Vergrößern bitte anklicken! (10KB)
Schaltung für die PC-Schnittstelle
Verbinden Sie den Emitter eines NPN-Universaltransistors (BC337
o.ä.) mit PIN 1 des 25-pol-Druckersteckers. Die Basis des
Transistors verbinden Sie über einen 3,3-kOhm-Widerstand mit PIN
17. Um HF-Einstreuungen vorzubeugen, können Sie Basis und Emitter
des Transistors noch mit einem 4,7-nF-Keramikkondensator
überbrücken. Der Kollektor wird mit dem Sender-Tasteingang (sollte
bei allen modernen Transistorgeräten mit positiver Tastung
funktionieren) über ein abgeschirmtes Kabel verbunden, die
Abschirmung des Kabels an die Metallmasse des Druckersteckers
gelegt. Je ein 10-kOhm-Widerstand geht von PIN 14 zu PIN 12 und PIN
13. Der Geber wird an PIN 12 (Punktkontakt) und PIN 13
(Strichkontakt) über je einen 100-Ohm-Serienwiderstand
angeschlossen; auch hier sollten Sie ein abgeschirmtes Kabel
verwenden: Abschirmung an Steckermasse, bzw. Mittenkontakt des
Gebers. Die Schaltung lässt sich ohne Mühe noch im Gehäuse des
Druckersteckers unterbringen.
Rechtliches:
Dieses Programm ist HAMware, es darf für private, nicht-
kommerzielle Zwecke frei kopiert werden. Der Autor übernimmt weder
Garantie für die einwandfreie Funktion des Programms, noch Haftung
für eventuelle Störungen oder Schäden, die im Zusammenhang mit der
Nutzung dieses Programms auf einem Computer auftreten.
-.-. --.- Download (zip-File
39 KB)
Verbesserungen / Ergänzungen in Version 0.50:
Auch PC mit "exotischen" LPT-Adressen können jetzt verwendet
werden.
Das Strobe-Signal wird nach Programmende deaktiviert
(Sicherheitsmaßnahme gegen versehentliche Tastung)
Verbesserte Geschwindigkeitseinstellung bei Geschwindigkeiten
<100 BpM
Abspeichern der Einstellungen / Mehrere Konfigurationen möglich
Variables Strich/Punktverhältnis
Dank für Hinweise und Tests geht an DL4CF, DL8LBK, DK5KE, DK4XL,
OK1-15709, DK7IT, DL3MCO!
© Ulrich Strate, DF4KV, WAA#002,
(df4kv©web.de) - TNX! |
|
|
|
©
DK5KE
|
|
|