40m-80m Çift Bant SSB QRP Projesi

Daha önce yaptığım cihazlardan genel olarak memnunum. Ama mobil kullanıma daha uygun, taşınabilir ve yapımı daha kolay olan bir cihazım olsun istemiştim. Önceki cihazlarım bir çok karttan oluşmaktaydı ve yapımı biraz zaman almıştı. Bu nedenle VFO haricinde geri kalan tüm devre katlarının tek bir PCB üzerinde toplandığı bir tasarıma yöneldim.

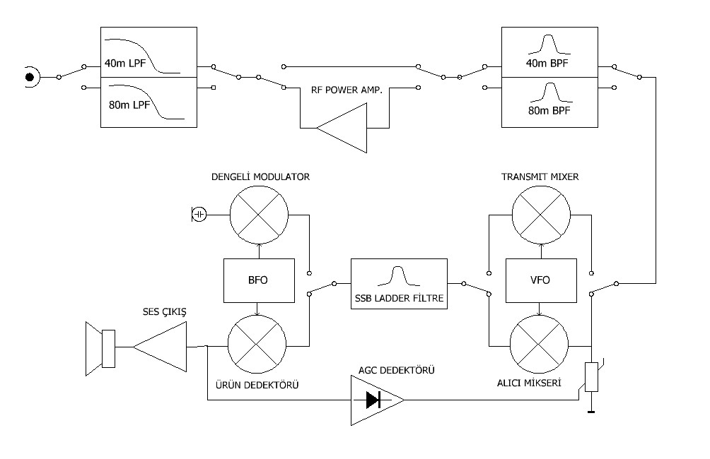
Çok kullanılan 40 metre bandı ile beraber 80 metre bantını da amaçladım. Bunun yerini 20metre bantı da alabilir ancak bu bant çok kullandığım bir bant değildi.Bu nedenle 80metrede karar kıldım.

Daha fazla bant yerine iki bantta karar kılmamın nedeni devreyi nispeten basit tutmaktır. Çünkü bu durumda bir adet çift kontaklı röle her iki bandın LPF filtrelerini devreye almakta yeterli olmaktadır. BPF filtreleri ise diyot anahtarlar tarafından devreye alınmaktadır.

Öncelikle Alıcı-Vericinin yapım konsepti ortaya konmalıdır. Böylelikle kolayca amaca yoğunlaşmak mümkün oldu.

-Alıcı-Verici kolaylıkla temin edilebilecek komponentlerle tasarlanmalıdır.

-Maliyeti düşük tutulmalıdır.

-Tek PCB üzerine yerleştirilmelidir.

-Tekrarlanma durumunda sorunsuzca çalışmalıdır.

-Tüm bunlarla tezat gibi görünse de kaliteden ödün verilmemelidir. Özellikle Filtrelerden tasarruf edilmesi düşünülemez. Bu nedenle LPF filtreleri iki bölümlü, bant geçiren filtreler 3 'er bölümlü, Ladder filtre ise en az 8 kristalli olarak yapılmıştır.

Her tasarımın hayata geçmesi prototipler sayesinde mümkün olur. Bu tasarım hayata peynir tenekesi üzerinde başladı.( Lineer güç katı hariç!)



Uzay montajı prototiplemeyi seviyorum. Hesaplama ve sök-tak işlemleri beni oyalamıyor; böylece nihai hedefe ulaşmak kolaylaşıyor. Devre şeması son halini alınca PCB çizimi başlıyor. İşin bu kısmını gerçekten sevmiyorum.

Her zamanki gibi malzeme kutumdaki parçaları test ederek başladım. Önce nispeten kolay bulunan TA7358AP entegresi ile bir alıcı oluşturdum. Bu entegre FM alıcılarda front end katında kullanılmıştır. İçinde ön kuvvetlendirici olarak kullanılan bir transistör, DBM yapısında bir karıştırıcı (mixer) ve osilatör katı barındırır. Girişte bulunan yükseltici, düşük giriş empedansını yüksek çıkış empedansına dönüştürerek karıştırıcı için uyumlu hale getirir. Karıştırıcı ise yüksek giriş ve çıkış empedansına sahiptir. Entegrenin olumsuz tarafı, çıkış pini ile Vcc arasında ters olarak paralel bağlanmış bir çift diyot bulunmasıdır. Bu diyotların amacı ara frekans sinyalini kırpacak bir sınırlayıcı (limiter) katı oluşturmaktır. Böylece iyi seviyede bir AM bastırması sağlanmış olur. Ancak biz bunu istemiyoruz; çünkü genliği yüksek SSB sinyallerini kırparak distorsiyona neden olur. Front end katında bu sorunla karşılaşma olasılığı daha düşüktür, fakat ürün dedektörü olarak kullanılacaksa IF amplifikasyonu sebebiyle sorun oluşturma ihtimali yüksektir.

Yapılan testler, TA7358AP entegresini alıcı katında kullanmanın iyi bir fikir olmadığını gösterdi. Entegrenin iç gürültüsü yüksektir ve düşük seviyeli sinyaller hışırtının arasında kaybolmaktadır. Umutsuzca yapılan iyileştirme çabaları sonuçsuz kaldı ve bu entegrenin alıcı katında kullanımından vazgeçildi. Öncelikle ürün dedektöründe üç transistörle yapılan bir karıştırıcı denendi ve iyi sonuç alındı; ancak daha sonra çift kapılı MOSFET lehine bu yapıdan vazgeçildi. Çift kapılı MOSFET’ler düşük gürültülüdür, pek sorun çıkarmazlar, kullanımları da basittir. Ancak yüksek seviyeli giriş sinyallerinde kolayca distorsiyona neden olabilirler. Bu sorun, alıcıda iyi bir AGC zayıflatıcısı ile aşılmıştır.

Her ne kadar alıcıda kullanamasak da vericide TA7358AP entegresini kullanmak mümkündür. Dengeli modülatör katında kullanılırsa, sınırlayıcı diyotlar sinyal genliğini Vpp 1,4 volt ile sınırlandırarak distorsiyona neden olur. Bu nedenle 4 numaralı pindeki giriş sinyalinin genliği 200 mV Vpp’yi aşmamalıdır. Çıkış sinyalini düşük empedansla yükleyerek kazancı düşük tutmak için 6 numaralı pin 1K direnç ile yüklenmiştir. Yine bu pin ile Vcc arasında indüktif bir yük (bobin) kullanılmazsa elde edilen sinyalin şekli çok bozuk, taşıyıcı bastırması ise çok düşük olur. Dengeli modülatörde en iyi taşıyıcı bastırmasını elde etmek için bir ayar trimpotu da kullanılmıştır. Şaşırtıcı bir şekilde 40 dB üzerinde bir taşıyıcı bastırması elde edilmiştir. Taşıyıcı frekansının doğru konumlanması kaydıyla 10 dB bastırma da yan bant filtresi tarafından yapıldığından, toplam bastırma 50 dB oranını rahatlıkla aşabilmektedir.

Epeyce bir uğraşın sonunda nihai şema ortaya çıktı:
Herhangi bir cihaz yaparken karşılaştığım en büyük problem kutulama sorunudur. Bu nedenle bu kez sondan başa doğru gitmek istedim ve elimde bulunan Altınkaya firmasına ait DT2020 modeli kutuya uyum sağlayacak bir tasarıma yöneldim. Kutu biraz küçük olunca PCB de haliyle biraz sıkışık oldu. Bu işte çok becerikli değilim.
Çift yüzlü PCB kullanıldı, üst yüz tamamen GND olarak kullanılmaktadır. GND bağlantısı olmayan delikler havşalanmıştır.
PCB dosyası           SAYFA 1               SAYFA 2           SAYFA 3         SAYFA 4          ANA SAYFA