DVB-S 70cm project
Baseband
MPEG
IQ Board
Not used VCO
VCO module 437MHz: Website British Amateur Television Club
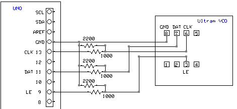
Modification to program the 70cm VCO (Arduino Uno / Nano)
Arduino Nano as VCO controller
ADF4360-7 Concept setup for 436.000 MHz
The complete 70cm DVB-S transmitter setup
VCO modifications
Testing the complete 70cm DVB-S transmitter
Vector Netwerk Analyzer
Constellatie Diagram
QPSK Syms / Errs
Spectrum


