ТУК ВИ ПОКАЗВАМ НЯКОЛКО МОИ ИЗМИШЛЪОТИНКИ ОТ ВСИЧКО ЩО МИ Е ХРУМВАЛО НЯКОГА И СА МЕ ДОСЪРБЯВАЛИ РЪЦЕТЕ ДА ГО СКАЛЪПЯ. НАДЯВАМ ДА Е ПОЛЕЗНО А ЩЕ СЕ РАДВАМ НА ВАШИ МНЕНИЯ И БЕЛЕЖКИ КОИТО АКО СА СЪЩЕСТВЕНИ ЩЕ НАМЕРЯТ МЯСТО НА СТРАНИЧКАТА !

Antena LPDV

Powers PC

Power box PC

Programator

PU 145 Mhz

LedLevelMeter

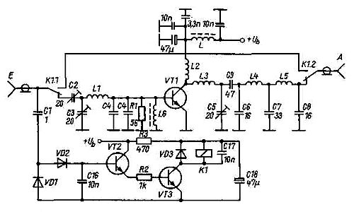
< = 16-18 W при вход 3.5-4 W !

16-18 W при вход 3.5-4 W ! = >

Приблизителна принципна схема. Когато начертая по-подробно действителната + платка и разположение на детайли ще да я имате ! Дяволията се състои да съберете туй всичко в най-малък обем но да работи !J

© Copyright 2003 LZ4GE. All rights reserved.©