Rozhlasový vysílač 95.7, pokojová anténa, umělá zátěž 75 ohmů (Broadcast transmitter 95.7, room antenna, 75 ohm terminator)

UPOZORNĚNÍ!
Rád bych na úvod této podstránky předeslal, že bych byl velmi nerad, aby se tato konstrukce stala návodem k výrobě jakýchkoli nelegálních vysílačů lidem, kteří z věci nemají rozum a v oblasti vysokofrekvenční techniky ještě nedosáhli odpovídající technické znalosti. Na Internetu lze dnes najít velkou spoustu konstrukcí rozhlasových vysílačů. Některé jsou zdařilé, některé méně a některé jsou bohužel opravdu velmi mizerné. Zařízení by mělo být stabilní, řízené syntézou, modulované varikapem, vysokofrekvenčně blokované, stíněné, nezakmitávající, atd. atd. Vhodným zahájením vysílání na vhodném místě, ve vhodný čas, na vhodném kmitočtu, do vhodné antény a vhodným výkonem můžete nechtě způsobit třeba i havárii letadla. A případné katastrofě nepomáháte jen sami o sobě, ale i kombinací svého zařízení s těmi, které již v éteru vysílají.


Studentský rozhlasový vysílač 95.7 (Student broadcast transmitter 95.7)

Tato konstrukce byla přibližně sedm měsíců v provozu na (toho času právě nově otevřené) Masarykově koleji ČVUT v Praze Dejvicích na kmitočtu 95,7 MHz. Jejím úkolem bylo vysílat po budově koleje zvuk ČT1, který přes mixážní zesilovač poskytovalo vyřazené video. Cílem studentské akce bylo umožnit pro tu většinu, která neměla na pokoji televizi, alespoň její zvuk. A rádio má dnes na pokoji každý. Řadu pořadů v televizi člověk (třeba při práci) stejně jen poslouchá a obraz nevnímá. Tomu odpovídala i volba veřejnoprávní ČT1, kde je tohoto charakteru pořadů nejvíce. A současně jsem chtěl zase udělat něco prakticky, což na fakultě člověku občas chybí (ono to v potřebném rozsahu ani nelze), a taky udělat něco originálního, protože je mi to líto, ale život studentů dnes mi v některých ohledech přijde trochu prázdný.

Celou konstrukci jsem rozdělil do pěti částí, z toho součástí vlastního vysílače je jen oscilátor s fázovým závěsem, řídící jednotka s mikroprocesorem a koncový stupeň vysílače. Napájecí zdroj byl v krabiččce jiné, stejnětak jako mixážní zesilovač.

Zapojení oscilátoru s Q2 je klasický zesilovač se společnou bází, jemuž C11 a C14 zavádí kladnou zpětnou vazbu. Rezonanční obvod mimo L2 je rozvětven do dvou větví přes C10 a C8, které jsou uzavírány varikapy. Zatímco D1 má (pomocí R2 a R6) nastaveno trvalé předpětí, které se mění pouze modulačním signálem, D2 slouží k ladění. Přes odbočku nižší impedance je signál oscilátoru odveden do oddělovače Q1. Z jeho výstupu je odebírána malá část signálu do syntezéru. Zapojení U1 se v podstatě neliší od katalogového listu Philips. Nastavením trimru C25 se jemně ladí, aby vysílač přesně seděl na kanále. Doporučuji buď čítač nebo kominukační přijímač, který umí přijímat úzkopásmovou FM i na tomto pásmu. Vysílač není přeladitelný po celém pásmu, ale pouze v okolí frekvence, na které bude pracovat.

Schema zapojení fázového závěsu

Řízení PLL obvodu zajišťuje mikroprocesor AT89C2051. Je relativně dostupný a to i včetně programátoru. Uživateli jsou k dispozici 4 tlačítka a je jeden LED segment, který může postupně vyblikávat potřebné informace. Jejich funkce samozřejmě závisí na obslužném software. Poslední LED není ovládána mikroprocesorem, ale testovacím výstupem syntezéru. Propojení i do procesoru je z důvodu možnosti zpětné software kontroly syntézy.

Schema zapojení řídící jednotky

Koncový stupeň tvoří tranzistory Q3 a Q4. Zapojení Q3 je standartně ve třídě C, výstupy jsou odvedeny kapacitními děliči a na konci nesmí nikdy chybět správně napočítaný a poctivě provedený filtr typu dolní propust pro dokonalé potlačení všech harmonických kmitočtů. Tranzistor Q3 musí být chlazen. S KF622 lze dosáhnout 500mW, což při kvalitní anténě mnohonásobně převýší předpokládáné pokrytí zděné budovy koleje.

Schema zapojení koncového stupně

V konstrukci vysílače jsou dvě napájecí napětí. Zatímco oscilátor, oddělovač a řídící jednotka jsou napájeny stabilním napětím 5 voltů a stabilizátor U3 je součástí vysílače, napájení koncového stupně lze v určitých mezích měnit stabilizátorem U2 ve zdroji a tím měnit výstupní výkon vysílače.

Schema zapojení napájecího zdroje


U1 - SAA1057 - Kmitočtová syntéza pro AM/FM přijímače (Phase locked loop circuit for AM/FM receivers)
U2 - LM317 - Nastavitelný stabilizátor napětí (Adjustable stabilized supply circuit)
U3 - 7805 - Stabilizátor napětí 5V (Stabilized supply circuit 5 Volt)
U4 - AT89C2051 - Osmibitový mikroprocesor, 128B RAM, 2k FLASH (8-bit mikroprocessor, 128B RAM memory, 2kB FLASH memory)


J1 - Modulation Input - Linkový vstup modulace (Line Input Modulation signal)
J2 - Antenna output - Výstup vf anténa 75 Ω (RF antenna output 75 Ω)
J3 - Power supply input - Napájecí vstup 7-15V (Power supply input 7-15 Volt)


S2 - Mode - tlačítko pro nastavení aktuálního režimu (actual mode set button)
S3 - Show - tlačítko pro zobrazení aktuální hodnoty (actual value show button)
S4 - Down - změna dolů (range change down)
S5 - Up - změna nahoru (range change up)


Vcc5 - Napájecí napětí 5 voltů (Power Supply 5Volt)
Vcc - Napájecí napětí PA (PA Power Supply) - 7-15 voltů (7-15 Volt)

Tištěný spoj pro Rozhlasový vysílač 95.7

Vzhledem k vysokofrekvenční konstrukci okolo 100MHz je dobré tištěný spoj řešit oboustranně, přičemž druhou stranu udělat jako zemní rovinu. Jednotlivé části musí být stíněné ve svých komorách, aby nedocházelo k přezařování a nežádoucím parazitním jevům. Na obrázku pochopitelně chybí kovový kryt, aby bylo něco uvnitř vidět. Z kovové krabice kouká za provozu jen LED displej a 4 tlačítka.

Pohled na Rozhlasový vysílač 95.7 shora zepředu

U koncového tranzistoru je patrný chladič.

Pohled na Rozhlasový vysílač 95.7 shora zezadu


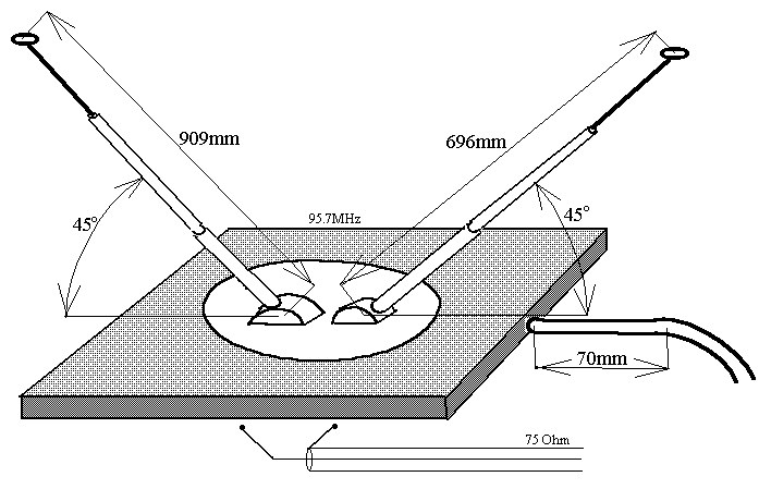
Pokojová anténa (Room antenna)

Dosah vysílače velmi závisí na anténě a jejím umístění. Pro náš případ byla vyrobena anténa pokojová. Jednalo se nám samozřejmě o pokrytí vnitřku zděné budovy a navíc ani nebyla možnost průchodu kabelu oknem nebo dokonce nějaké práce na střeše. Anténa je klasický otevřený dipól, ale zářič s protiváhou jsou sklopeny v úhlu 45 stupňů kvůli možnosti postavení na nějakou (nekovovou) podložku. Tím se trochu mění vyzařovací diagram a impedance, takže konečné rozměry byly empiricky dostaveny podle 75Ω PSV metru pro 145MHz.

Pokojová anténa


Umělá zátěž 75 ohmů (75 ohm power terminator)

Úkolem umělé zátěže je spotřebovat veškerý výkon vysílače během ladění a testování. Je složena z miniaturních metalizovaných rezistorů o minimální parazitní reaktanci. Dohromady musí složit přesně požadovanou impedanci. Pro delší provoz doporučuji chladit proudem vzduchu.

Schema zapojení umělé zátěže

Dbáme na minimální vzdálenosti součástek od konce koaxiálního kabelu. Rezistory jsou naletovány dokola konce opletení kabelu a sbíhají se do středního vodiče kabelu. V našem případě Belden H.125 75Ω, pro standardní rezistory o ztrátovém výkonu 0.6W pohltí konstrukce přibližně 2W, což pro náš vysílač stačí.

Pohled na umělou zátěž

Datasheets

Petr Faltus technical resources Bipolar transistors datasheets
Petr Faltus technical resources Microcontrollers datasheets
Petr Faltus technical resources PLL circuits datasheets
Petr Faltus technical resources Voltage references datasheets