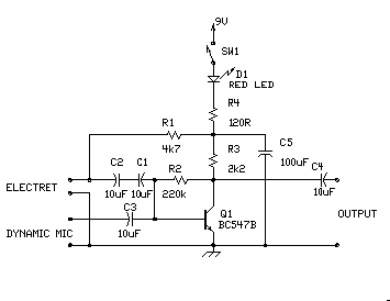
AMPLIFICADORERES DE MICRO

 

 

>> | Antenas Esquemas  Rad. |  Esquemas de TV   | Circuitos  | Componentes  Design | Fabricantes |
>>  |  Linkes Electrónica   | Download Eletrónico  | Download Equipamentos 
TVA