Antena realizata in cadrul radioclubului nostru se adreseaza celor pasionati de lucrul in portabil. Conceptual antena este un radiant vertical scurtat cu bobina de incarcare la baza pentru benzile de HF.
Pentru benzile VHF si UHF avem de a face cu un radiant telescopic in 1/4, 3/4, 5/8 lambda, acordat pentru SWR minim.
Realizarea are la baza o idee a lui ON6MU, aportul nostru fiind adaptarea la materialele disponibile pe piata Romaneasca un obiectiv important fiind realizarea cat mai simpla la un pret scazut. Lucrarea prezentata nu are un caracter “revolutionar” iar gradul de tehnicitate in ce priveste realizarea este facil spre mediu pentru constructorul cu putina experienta practica. La “sfarsitul zilei” veti avea in rucsac sau in portbagaj un “radiator” versatil care va va oferi multe satisfactii in operarea /P.
Principalii parametri ai antenei:
Doar 1m lungime in stare pliata pentru transport
3 – 3.5 m lungime la extindere maxima
Nu necesita un antenna tunner extern sau intern
Benzi acoperite 7Mhz – UHF
Poate functiona cu sau fara radiale, desi prezenta acestora ii mareste considerabil randamentul
Poate fi folosita la nivelul solului dar si ca antena de balcon
Functioneaza stabil pana la puteri de 50W
Pasionatii de SWL o pot acorda si pe alte benzi – ex. Radiodifuziune
Materiale folosite la realizarea antenei:
5 tuburi din aluminiu alese astfel ca sa poata fi “telescopate” cu usurinta dar fara jocuri
6 coliere tip auto din inox
Tub PVC tip Bergmann pentru instalatii electrice Ø16 mm de 100mm lungime
O doza de racord din PVC – de preferat rectangulara cu capac etans
3 – 4 m de CuEm Ø 0.8 mm
Un conector SO239 – UHF mama
Un comutator rotativ 1 galet x 12 pozitii
Conductor litat pentru conexiunile din interiorul cutiei
Un surub M6 x 40 cu contrapiulita
O piulita fluture pentru usoara fixare a radialelor
Putin silicon sanitar pentru etansarea trecerilor prin peretii dozei de conexiune
Realizare practica:
Pregatiti sectiunea telescopica a antenei. Cel mai probabil veti gasi in comert tuburi de aluminu eloxate. Va trebui sa indepartati stratul eloxat pentru a asigura un bun contact electric pe toata lungimea tuburilor. Am realizat aceasta operatie – care poate fi migaloasa si neproductiva – fixand tubul in mandrina masinii de gaurit, capatul liber “atarnand” liber in jos. Cu masina de gaurit pornita, plimbati mana de-a lungul tubului strangand usor o bucata de smirghel in jurul tubului aflat in miscare. Porniti cu o gradatie bruta si apoi folositi 2-3 gradatii mai fine pentru a da un aspect placut tuburilor dvs.
Realizati cu o panza de bomfaier 4 crestaturi pozitionate la 90 ° avand lungimea de cca. 1cm la unul din capetele tuburilor. Folosind coliere tip auto fixati tuburile intr-o configuratie telescopica.
In teren veti elibera putin colierele pentru a extinde elementul radiant sectiune cu sectiune, strangand apoi pentru fixare ferma in pozitie. 1/4 ture de surub ajung pentru a elibera / bloca sectiunile elementului radiant. Cautati coliere de calitate si nu veti avea probleme nici dupa jumatate de an de utilizare.
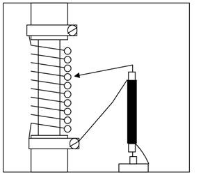
Pregatiti bobina cu prize. Taiati tubul de PVC la o lungime de cca 100 mm . Practicati cu panza de bomfaier - de data aceasta la ambele capete ale tubului de PVC - 4 crestaturi pozitionate la 90 ° avand lungimea de cca. 1cm. Folosind un burghiu Ø 1.0 mm practicati cate un orificiu la fiecare capat al tubului. Va veti felicita pentru aceasta cand veti face scurte opriri in timpul bobinajului. Inarmati-va cu putina rabdare si porniti la realizarea bobinei. Treceti conductorul de bobinaj prin orificul de la un capat si realizati bobina cu prize la fiecare 1.2 – 2 – 4 – 4 – 4 – 4 – 5 – 6 – 6 – 8 - 12 spire. Dupa cateva incercari esuate am realizat ca cel mai usor veti realiza prizele folsind o mica sula cu care veti rasuci o bucla la fiecare priza. Odata finalizata bobina folosind o pila sau smirghel fin indepartati emailul de pe buclele realizate folosind procedeul de mai sus. Folosind letconul metalizati prizele cu aliaj de lipit si colofoniu – nu folositi in nici un caz pasta acida – prietenii stiu de ce. Puteti conecta deja fiecare priza la contactul corespunzator al comutatorului rotativ folosind bucatele de conductor litat. Lungimea conductoarelor va fi cea minima pentru a permite montajul facil in doza de racord. Recomand cu caldura efectuarea conexiunilor “punct la punct” inainte de montajul mecanic efectiv.

Montajul mecanic. Se spune si nu degeaba ca o imagine clara face cat 1000 de cuvinte. Studiati cu atentie imaginile dozei de conexiune. Pornind de la materialele pe care le-ati putut gasi in magazinele de profil din zona Dvs, practicati pe peretii laterali ai cutiei 5 orificii. Doua vor asigura trecerea tuburilor de aluminiu de la baza si respectiv dinspre elementul radiant. Va recomand sa alegeti o pozitie usor ex-centrica fata de axul longitudinal al cutiei. Un orificiu va permite fixarea comutatorului rotativ. Un altul va fi destinat conexiunii de masa spre sistemul contragreutatilor. Ultima va servi mufa UHF. Fixati mecanic mufa UHF si surubul M6 destinat conexiunii de masa. Fixati mecanic comutatorul si totodata fixati bobina de tuburile din aluminiu cu doua coliere auto. Atentie capetele bobinei vor fi dezizolate si metalizate in prealabil. Veti asigura un bun contact electric al firului de bobinaj cu tuburile de aluminiu. Functie de “jocul diametrelor” puteti lua in considerare folosirea de coliere din fier cromat (doar aici) de care dupa indepartarea cromului veti putea cositori punctual capetele bobinei. Faceti restul conexiunilor electrice cf. schemei alaturate. Folosind putin silicon etansati toate trecerile prin peretii cutiei (spre interior) pentru a nu deteriora aspectul final al “produsului”. Recomand cu caldura inscriptionarea pozitiilor 1 – 12 ale comutatorului. La primele teste veti dori cu ardoare sa stiti pe la ce priza va aflati … Utilizare. Revin la poze si la cele 1000 de cuvinte :
  
  
  
Incepeti prin a fixa in sol un tub cu diametrul mai mic decat tubul de baza al antenei
Fixati antena pe tubul din sol
Extindeti complet sectiunea telescopica superioara
Conectati sistemul radial si cablul coaxial.
Acordati statia pe o frecventa libera
Apasati butonul de emisie si reglati comutatorul pana la SWR minim
Daca ati lucrat cu atentie antena va functiona de la prima incercare.
Am folosit 8 radiale a 4 m asezate liber pe sol. Nu doresc sa pornesc o polemica cu dimensiuni epice pe aceasta tema dar am fost foarte multumit de rezultate.
Recomand sa folositi un soc pentru curentii de mod comun – cteva spire ale cablului coaxial trecute printr-un tor de ferita!
Pentru acord optim pe HF jucati-va cu lungimea radiantului si prizele bobinei. Sunt posibile mai multe puncte de acord pe SWR minim dar numai unele au un randament bun …. Va veti da singuri seama!
Nu exista retete pentru acord optim, conductivitatea solului si obiectele inconjuratoare … inclusiv persoana Dvs avand influenta asupra punctului de acord. Am lucrat de pe plaja in zona cu nisip umed fara radiale si am avut cel mai usor acord si cel mai bun randament. Pe teren pietros si uscat acordul e mai critic …. dar foarte posibil. Pentru benzile superioare 10m si 6 m radialele au o influenta mai mica. In VHF si UHF am acordat antena fara radiale si am avut controale bune in local.
In combinatie cu Yaesu FT817 cu doar 5W am realizat urmatoarele legaturi:
De la nivelul solului teren inierbat in jud . Buzau : YI1RZ, 9K2YM, 7S6W, A61K
De la balcon 5/8 etaje cu doar doua radiale in orasul Buzau : F6GPT, OH7LWF, DL0YLV
 
De pe plaja din LZ de la Nisipurile de Aur : SV9IOI, 4K6FO, UA0ADX, S520SV
Va stam cu placere la dispozitie pentru mai multe informatii pe coordonatele personale sau ale radioclubului !
YO9ADN - Dan ANGHEL
|