Links
Statie de lipit termostatata cu FEON si LETCON

Am avut in exploatare, pana nu demult, o statie de lipit termostatata cu varf magnetic. Aceste tipuri de varfuri de lipit, au inceput sa nu se mai gaseasca de cumparat asa ca am trecut la o alta abordare a statiei de lipit: aceea cu sonda termica de tip "K" si FEON cu aer cald pentru smd-uri.
Am un ciocan de lipit cu sonda K, de tip Pensol SL10, cu rezistenta de incalzire de 24V-40W. Pentru acest tip de ciocan de lipit am construit o statie de control a temperaturii controlata cu Atmega8. Carcasa folosita este o carcasa de sursa ATX de calculator.
Asa arata noua statie de lipit cu Atmega8.

Controlul temperaturii se face cu ajutorul unui potentiometru liniar, iar afisarea se face cu 3 digiti cu anod comun, recuperati din vechile instrumente de panou.
Afisajul are doua stari:
- o stare cu afisare stabila care semnifica temperatura citita instantaneu pe sonda de temperatura din ciocan
- o stare cu afisare intermitenta care semnifica temperatura de reglaj in momentul cand se actioneaza butonul potentiometrului.
Domeniul de reglaj si de termostatare este de la 100 - 500 C atat pe domeniul Letcon cat si pe domeniul FEON.


Schema nu este complicata si nu trebuie sa o comentez in mod deosebit. Operationalul cu LM358 este folosit in schema clasica pentru amplificarea semnalului de la sonda K. Semnalul obtinut este introdus in micro-controlerul Atmega8 care interpreteaza tensiunea continua obtinuta si o compara cu tensiunea continua data de potentiometrul de ajustare. Iesirea de comanda a rezistentei letcon-ului este trimisa cate un releu Solid-State de "moda veche" pe care il aveam de mult si acum a sosit momentul sa-l pun la treaba. Se pot folosi o multitudine de astfel de relee, dar la fel de bine se poate folosi un circuit format din componente discrete, care inlocuieste integral releul Solid State.
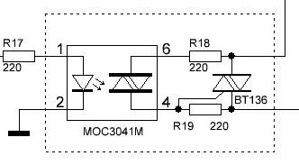
Acest circuit se compune dintr-un opto-cuplor cu Diac incorporat si un Triac de medie putere, ca in circuitul de mai jos:
NOTA: Pentru microcontroler se seteaza fusebitii la 4MHz oscilator intern.
Transformatorul folosit in aceasta statie de lipit, este un transformator de 24V cu priza de 9-12V care este folosita la alimentarea montajului cu Atmega8. Se poate folosi orice transformator care sa aiba o iesire de 24V - 2A necesara pentru alimentarea rezistentei de incalzire a letcon-ului. Se poate alimenta montajul si din tensiunea de 24V fara priza, dar se va incalzi excesiv regulatorul de 5V, LM7805. De aceea am folosit o priza de pe transformator pentru a evita supra-solicitarea elementului regulator de 5V.
Montajul l-am executat pe un cablaj imprimat pe care am montat toate componentele schemei.
Am conceput un adaptor pentru a inlocui releul Solid State. Acest adaptor se incadreaza exact in locul releului si este de dimensiuni similare. Pe adaptor se monteaza piesele aferente si se va monta pe cablajul statiei in pozitie verticala.
Dimensiunile placutei de cablaj sunt: 31x41mm
Copyright © 2008-2013 YO6PIR

HOME    YP6HMR      ABOUT ME       PROJECTS        QSL CARD         AWARDS         CONTACT