

|
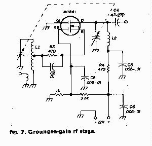
"Fig. 7 shows the circuit for a grounded-gate rf stage. Note that gate 2 must still be biased to +4 volts for full gain. You can feed gate 2 from the agc line if desired. This stage is very stable without much shielding."
|
Return to Amateur Radio Receivers ||
LED Mosfet Receiver
|| Send E-Mail
