PSA-A Phase Shift Amplifier

Mark Connelly, WA1ION - 13 SEP 1999

 

The PSA-A Phase Shift Amplifier provides a high impedance to low impedance buffer amplifier function as well as the ability to yield a variable phase shift when used with an external 100K potentiometer. Typically two antennas would be presented to the input of a phasing unit comprised of two PSA-A's: one amplifier for each antenna input. The outputs of the two amplifiers are then combined to facilitate nulling of interfering signals. A dual potentiometer should be used. It should be configured such that the resistance to one of the amplifiers is at the maximum 100K value when a minimum (zero ohm) resistance is presented to the amplifier on the other antenna line. Each amplifier should provide at least 100 degrees of shift over the 150 kHz to 5 MHz frequency range. A 0 / 180 degree transformer-with-switch arrangement on one of the input lines will give additional flexibility and nulling range. Each input should have a level pot (1K typical) such that "pest" station amplitude may be matched; this is a necessary condition for nulling as well as the phase being adjusted for a +/- 180 degree difference of one PSA-A amplifier output relative to the other. Level pots will also be usable in strong-signal areas to prevent amplifier overloading and resulting distortion products.

PSA-A complete article in PDF format

PSA-A Schematic (fits on one page)

PSA-A Schematic (high resolution)

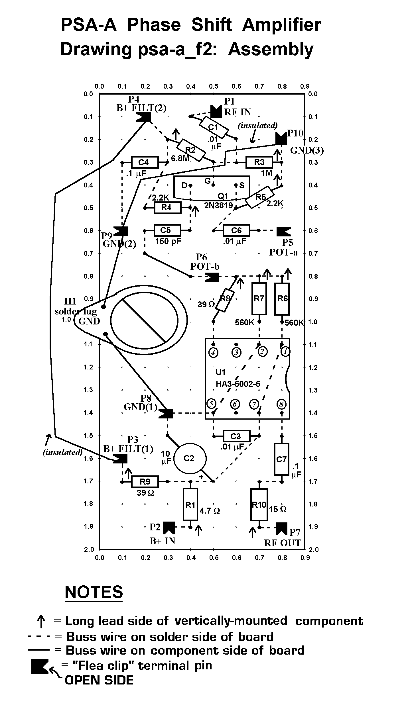
PSA-A Assembly (fits on one page)

PSA-A Assembly (high resolution)

PSA-A Application (fits on one page)

PSA-A Application (high resolution)

PSA-A Parts List



BACK TO MAIN PAGE