Last updated: September 24, 1999


Auto Caller

To Chinese Version Page




Making CQ calls and wait for reply is a boring and tiring task for DXer. Just let the caller do it for you. When the Auto Caller is calling CQ for you, you can now tidy up your log book or perform some other tasks before somebody answer your call.

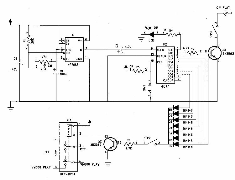
I have put CW and Voice caller in one box. For CW, I use "BLACK AUTOKEYER", a kit available from BA4IN. For Voice, I use "VM888", a voice recording module. With the timer circuit below, the caller can be select to make CW or Voice calls.

The "BLACK AUTOKEYER" is not just a memory caller, it is also an electric keyer (for using with both straight key and paddle) and a random code generator all in one small little curcuit. This is a nice little weekend project. Just try!!



Schematic








References

555 Timer
Connector Reference by BV2KS








Back to Workshop