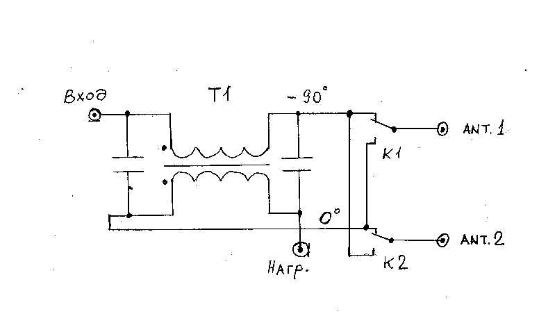
Основные достоинства и недостатки питания антенных систем по методу Коллинза были уже описаны мной ранее в статье ,,4 эл. система, запитанная по методу Коллинза,, В новой же статье я бы хотел остановиться на варианте 2 эл. системы по тому же методу. Не все радиолюбители вероятно имеют возможность установить 4 элемента вертикалов на 7 Мс на дачном участке или тем более на крыше своего дома. А вот поставить 2 эл. на 7 Мс думаю, что это вполне реальная задача даже на крыше дома. Я вскользь уже упоминал о том что ответвителем для 4 эл. можно запитать и 2 эл. но если вы не планируете работу 4 эл. то можно изготовить гибридный ответвитель конкретно для работы только 2 эл. системы. Схема такого ответвителя изображена на рисунке.

Схема
очень простая и состоит из трансформатора Т1,
аналогичного из предыдущей статьи. Кольцо
тоже от Амидон T200-2.
Это кольцо диаметром 2,00 инча или 5 см.
Проницаемость кольца 10 и рабочий диапазон
от 2 до 30 Мс. Все рекомендации по намотке
кольца, сборке конструкции и т.д. описаны в
предыдущей статье и полностью справедливы
и для этой конструкции, поэтому я
повторяться не буду.
Напомню лишь,
что индуктивность каждой из обмоток кольца
для 7 Мс равна 1,13 мкГн., емкости начальные 226
пФ а конечные значения не указаны т.к.
конкретно они зависят от измеренной
емкости обмоток.
Используется
здесь только одно реле с двумя группами
контактов. Реле желательно на 24 В.
В этой
системе сами вертикалы устанавливаются на
расстоянии 10,2 м. Высота
вертикалов примерно 10,5 м. Питаются
вертикалы двумя отрезками кабеля лучше 50 Ом
но можно и 75 Ом, хотя в этом случае можно
ожидать слегка повышенный КСВ. Длинна
отрезков кабелей 0,25 волны или для 7,05 Мс
будет равна 7,02 м при Ку=0,66. Если Ку вашего
кабеля будет иной, скажем 0,72 или 0,82 то
придется пересчитать длину питающих
кабелей. Входной кабель 50 Ом любой длины.
Схему блока
управления я не привожу, она может быть
любой, лишь бы выдавала 24 В для реле и имела
тумблер, который может включать ли
выключать 24 В для реле ответвителя. Это и
будет переключение ДН антенны. На схеме
изображено обесточенное реле и в этом
случае максимум ДН приходится в
направлении вертикала, запитанного фазой -90
гр.
Очень
желательно питающие вертикалы кабеля и
питающие реле провода развязать по ВЧ с
помощью ферритовых колец.
В заключении
могу отметить, что таким ответвителем можно
запитывать не только вертикалы но рамки,
диполя, слоперы и пр. излучатели,
разнесенные на 0,25 волны в пространстве.
Этот
ответвитель строго однодиапазонный.
Стоимость такого кольца без пересылки в
Амидоне $4.5
Данная система была опробована совсем недавно и показала превосходную работу. КСВ в полосе от 7,0 до 7,3Мс практически был одинаковым. ДН мгновенно переключается и разница в приеме доходит до 5-6 баллов. На передачу все давали разницу 25 дб или 4 балла.
73!VE3KF, TO3T
Alex.