Расчет
антенн с активным питанием. Часть 1.
Многих
привлекает достоинство электрического
вращения диаграммы направленности(ДН)
антенны. Это позволяет мгновенно изменять
ДН, что очень ценно в соревнованиях.
Для
расчета систем питания антенн существует
программа, которая расчитывает длины
кабелей питания на основе метода Кристмана,
KB8I.
Такая программа позволяет расчитать
систему питания для 2-х элементной антенны.
Для 3-х и более элементов такая программа
уже становиться беспомощной. В этом случае
можно применить усовершенствованный метод
Леволлена, W7EL,
автора известной программы EZNEC-3
и др. Этот метод
можно рекомендовать для имеющих опыт
радиолюбителей. Такой
метод позволяет создать систему питания с
неограниченным количеством элементов.
Разберем сначала 2-х элементную антенную
систему.
Нужно
помнить всегда одно важное условие:
можно
соединять в общую точку кабеля от элементов
антенн только если на концах кабелей мы
имеем одинаковые по амплитуде и
фазе напряжения.
С
чего начать такой расчет? Для расчета нам
потребуются исходные данные:
1.
надо знать импедансы обоих элементов.
2.
надо знать фазы токов питания элементов для
заданной ДН.
3.
надо знать величины токов питания
элементов.
Для того, чтобы узнать исходные данные нам потребуется программа EZNEC-3. Создаем 2-х элементную систему, к примеру на 7МГц. Задаем расстояние между элементами к примеру 0,2 лямбды. Высота обоих элементов одинакова и равна 10,3 метра, диаметр труб равен 40 мм. Радиалы на рисунках не будут изображены для того, чтобы не загромождать рисунок. На самом деле они нужны как минимум по 16 штук длиной 0,25 волны, расположенных на земле изолированных проводов 1 мм.
Включаем
в основание каждого элемента свой источник
возбуждения. Задаем этим источникам
одинаковые токи в 1 А. Теперь изменяя фазу
тока в 1 элементе добиваемся наилучшей ДН,
которая вас удовлетворяет. Такая ДН
получается при фазе в 1 элементе -125 град, а
во 2 элементе 0 град. Теперь
идем в раздел программы
SWR
и сканируем антенну в полосе от 7 до 7,2 МГц с
шагом 0,02 МГц. На получившейся диаграмме
выбираем точку с частотой 7,05 МГц и
считываем внизу показания импеданса для
первого элемента Z1=32.2+j34
Ом
и для второго
Z2=13.1-j8.3
Ом.
Токи
мы задали ранее и они равны 1А.
Итак все три исходных данных для нашего
расчета нам стали известны. Мы не учли
только одного. Мы не учли сопротивление
потерь в системе радиалов.
Это сопротивление можно выбрать из
таблицы. Ну к примеру мы собрались
применить по 15 радиалов для каждого
излучателя и их длина будет 0,25 лямбда. Тогда
нам нужно будет добавить15,1 Ом для каждого
из полученным ранее импедансов.
Длина
радиала.(лямбда) Количество радиалов
2
15 30
60
120
0.15
28.6
15,3 14,8
11,6
11,6
0,20 28,4
15,3 13,4
9,1
9,1
0,25
28,1
15,1
12,2
7,9
6,9
0,30 27,7
14,5 10,7 6,6
5,2
0,35 27,5
13,9
9,8
5,6 2,8
0,40 27,0
13,1
7,2
5,2
0,1
Итак в конечном
счете после добавления 15,1 Ом у нас будет Z1=47.3+j34
Ом и Z2=28.2
-j8.3
Ом.
Токи и фазы остаются без изменений. Теперь
начинается основная фаза расчета системы
питания выбранной антенны. Присоединим к
каждому элементу по отрезку кабеля с
волновым сопротивлением 50 Ом и длиной ровно
0,25 лямбды.
Теперь вычислим
имедансы на свободных концах отрезков
кабелей 1 и 2, т.е. после трансформации их 1/4
отрезками кабелей. Для этого применим программу TLCALC tlcalc1.zip
(раздел
6) Задавая длину кабеля 90 град. , коэф.
укорочения 0,66, Z=50, частота 7,05
Мгц и введя импеданс Z1=47.3+j34
получаем
на другом конце кабеля
Z1'=34.8-j25.
Для
второго импеданса получаем
Z2'=81.6+j24.
Теперь вычислим
напряжения на тех же концах отрезков.
Четвертьволновые отрезки кабелей обладают
примечательным свойством:
ток на входе линии(на
элементе антенны) равен напряжению на выходе линии деленному
на волновое сопротивление линии и не
зависит от нагрузки на входе линии.
Это можно записать
так:
I
= Uвых/Zкаб
Нам известен ток
элементов 1А и
известно Zкаб=50 Ом.
Тогда Uвых
на концах кабелей будет равно 50 вольт. Итак
мы получили на концах отрезков одинаковые по
амплитуде напряжения в 50 вольт. Соблюдено
первое необходимое условие для соединения
кабелей. Остается уравнять фазы этих двух
напряжений. Какие же у нас фазы на концах
отрезков? Фаза U1 будет:
Ф1= -125 град +90 град= -35
град.
Это потому, что
отрезок кабеля в 0,25 лямбды задерживает фазу
на 90 град, т.е. если мы подаем на один конец -35
град, то на другом конце получаем -125 град.
Ф2= 0 град+90 = 90 град
Итак мы имеем U1=50 В
и фаза -35 град
U2=50
В и фаза 90 град.
Нам надо теперь
уравнять фазы U1
и
U2.
C
помощью
программы TLCALC
tlcalc1.zip(раздел
2) конвертируем последовательный импеданс
Z1' в параллельный. Вводим последовательный
импеданс и слева получаем его
параллельный эквивалент справа.
Для Z1'=34.8-j25
получаем
паралл. экв.
Z1'пар=52,7-j73,4
Ом.
Получилась схема на рис.1

Теперь мы
компенсируем реактивность для Z1'пар,
которая равна -j73.4
Ом.
Для этой задачи воспользуемся
TLCALC tlcalc1.zip(раздел 3).
вводим слева в ячейку индуктивности
значение 73,4, выбираем частоту 7,05 Мгц и
справа получаем ответ 1,66 мкГн.
Почему мы вводим это значение 73,4
именно в эту ячейку. Потому, что нам надо
скомпенсировать -73,4 Ома(емкостная
реактивность всегда со знаком минус)
Емкостную реактивность можно
скомпенсировать индуктивной реактивностью,
имеющей то же значение, но противоположный
знак. Итак мы должны на конце кабеля 1 на
землю включить индуктивность L1
1,66 мкГн.
На конце кабеля 1
теперь мы имеем чисто активный импеданс,
который остался от Z1'пар или 52,7 Ом. Для дальнейших
расчетов нам потребуется программа Tpinet tpinet.zip.
Можно с успехом использовать также
программу Networks www.qsl.net/km5kg ,
конкретно ее разделы Tee Net или Pi Net,
соответсвенно для расчета Т или Р цепочек. На странице для ввода данных вводим
значения:
частота 7,05 Мгц
нагрузка слева 52,7
Ом
нагрузка справа 52,7
Ом
фазовый угол
125 град. (разница фаз питания элементов
антенны)
добротность
контура можно задать в пределах 200-600.
Большие значения только снижают потери на
нагрев.
Программа выдает результат, который будет в верхнем ряду справа. Хотя слева будет Т цепочка эквивалентная по работе правой, но правая удобнее, поскольку содержит только одну катушку. Итак мы получили П цепочку, которая должна содержать индуктивность L2= 1 мкГн и емкости по 822,9 пФ. Вводим эту цепочку между концами кабелей 1 и 2. Мы получили систему питания, в которой мы можем изменять фазу, питания элементова, а значит и ДН , изменяя параметры катушки L2 и емкостей. Получилась схема 2.

Итак мы имеем в
точке подключения питающего кабеля A
два одинаковых по амплитуде и одинаковых по
фазе напряжения. По амплитуде они
получаются одинаковыми сразу после 0,25
лямбды отрезков кабелей а по фазе они
согласованы с помощью П цепочки. Остается
нам узнать последнее. Какой суммарный
импеданс мы имеем в точке А подключения
питающего кабеля. Ведь мы соединили
параллельно два сопротивления:
Z1'пар=52,7 +j0 (ноль потому, что мы скомпенсировали реактивность катушкой L1)и Z2'=81.6+j24 Ом.
Для этой задачи мы будем
использовать программу calc3d05.zip. Выбираем закладку Complex.
Используем для ввода самые верхние
горизонтальные окна
слева для ввода Z1 и справа для ввода Z2.
Левее ниже есть кнопки умножения, деления,
сложения и т.д. Вычислять будем по известной
формуле
Zобщ.=(Z1'пар
x Z2')/(Z1'пар + Z2')
Сначала вычисляем числитель
и запишем промежуточный результат, а затем
также знаменатель. В итоге разделим один
пром. результат на другой и получим
конечный импеданс.
Вот он результат
вычислений! Суммарный импеданс будет
Zобщ.=32.6+j3.6
Ом.
Это означает, что всю систему можно
питать напрямую кабелем 50 Ом, поскольку
импеданс содержит очень незначительную
индуктивную реактивность +j3.6
Ом.
КСВ в этом случае будет в пределах 1,5. Для
тех, кто хочет особо тщательно согласовать
этот импеданс с кабелем 50 Ом можно
рекомендовать воспользоваться программой www.qsl.net/km5kg
Для нашего случая СУ будет состоять из
последовательно включенной катушки 0,46 мкГн(включена
в разрыв жилы кабеля 3 в точке А) и
конденсатора 330 пФ, включенного между жилой
кабеля 3 и землей.
У читателя может
возникнуть вопрос, для чего нам надо
преобразовывать последовательный импеданс
излучатетей Z1’
в паралленьный эквивалент?
Мы должны подвести к П контуру импеданс не
содержащий реактивности. А дело в том, что в последовательном
импедансе мы должны для компенсации
реактивности вводить и последовательную
дополнительную реактивность(катушку или
емкость), что обязательно приведет к
падению напряжения на этой реактивности за
счет протекающего тока, а также и к
изменению фазы и как следствие,
падение напряжения U1. а этого нельзя допускать, т.к.
иначе у нас не будет соблюдено условие
равенства напряжений.
Нам надо подвести к катушке L2 два
одинаковых по амплитуде напряжения. Это
очень важное условие.
И еще одно
замечание. Кабель питания 3 всегда должен
быть включен со стороны элемента у которого
фаза излучателя опережает фазу тока
второго излучателя. В
данном случае фаза тока правого излучателя
0 град и потому она
опережает отстающую фазу тока –125 град.
Кабель для отрезков
0,25 лямбды лучше брать с малыми потерями, т.е.
толстый RK-50-9.... или RK-75-9... Во втором
случае ничего не измениться с напряжениями,
напряжение
на выходах кабелей будут 75 Вольт. Это не
имеет значения, важно лишь, чтобы эти
напряжеия были одинаковы. А вот импедансы
элементов антенны изменятся и питающий
кабель надо подбирать исходя из
полученного импеданса в точке А или
применять СУ.
Очень часто при расчете неизвестно эквивалентное сопротивление потерь земли, которое нужно учитывать при расчете. В этом случае лучше для настройки ДН антенны использовать переменные кондесаторы в цепях сдвига фаз и настраивать антенну по сигналу генератора, отнесенного на расстояние 5-10 лямбд.
Сам расчет не
представляет большую сложность если в нем
хорошо разобраться и понять действия
расчета и шаги. Здесь
рассмотрена простейшая система из двух
излучателей. В дальнейшем мы рассмотрим
более сложные системы, но так же
расчитанные по методу Леволлена.
Расчет антенн
с активным питанием. Часть 2.
А теперь мы рассмотрим антенную решетку,
состоящую из 4 вертикальных излучателей,
запитанных активно. Такая система
позволяет электрически вращать ДН
дискретно на 4 направления. Характеристики
системы получаются такими:
Усиление 6 дб
Угол излучения при нормальной земле 23
град
Отношение вперед/назад
22 дб. Этот
показатель можно довести до 32 дб, задав фазы
-155 и 155 град, но тогда появляются два
боковых лепестка большого уровня в
горизонтальной плоскости .
На рис.3 показана такая антенная решетка для диапазона 7 Мгц.

Одномоментно пара
диагональных излучателей запитывается
одинаковым значением фазы тока, но с
противоположными знаками. Максимальное
излучение будет направлено в сторону
элемента с отрицательной фазой тока. Другая
пара излучателей запитывается одинаковыми
фазами. Расстояния между соседними
элементами равны 0,2 лямбды. Высота
вертикалов по 10,3 м. Диаметры труб 40 мм.
Система радиалов не показана для упрощения
рисунка.
Итак, мы уже знаем, что для расчета нужны
исходные данные:
·
импедансы
всех четырех излучателей
·
фазы токов всех излучателей
Для этого нам опять потребуется
программа EZNEC-3. Каждый излучатель можно
разбить на 5 сегментов, тогда
демо версии EZNEC
еще сможет расчитать ДН и все параметры
решетки. Создаем
решетку и запитываем каждый излучатель
своим источником тока. Выставляем ток
равный 1А во всех излучателях. Фазы
выставляем так:
1 излучатель
137 град
2
- 137 град.
3 и 4
0 град.
На мой взгляд при этих фазах получается
оптимальная ДН.
Итак после расчета EZNEC
выдает
нам ДН, а после сканирования по частоте от 7
до 7,1 с шагом 0,01 Мгц еще и импедансы. Они
получаются такие:
Z1= -1.42 -j4.8
Ом
Z2= -11.9 +j29.2
Ом
Z3=Z4=
17.4 +j0 Ом.
Знаки минус перед реальной частью
импедансов говорят только о том, что ток
течет не в излучатель а из него в источник.
На расчеты этот знак не влияет никак, т.е. он
не учитывается.
Следующий шаг - добавление к найденным
импедансам сопротивления потерь системы радиалов
решетки. Для примера мы допустим, что оно
будет равно 15,1 Ом. Тогда наши импедансы
станут:
Z1 = -16.52 -j4.8
Z2 = -27 +j29.2
Z3=Z4=
32.5 +j0
Фазы токов :
Ф1=137 гр.
Ф2= -137 гр.
Ф3=Ф4= 0 град.
Это и есть исходные данные для нашего
расчета. Нам нужно расчитать систему
питания, которая бы обеспечивала заданные
фазы токов и равенство всех наряжений в
общей точке питания решетки.
Подключим ко всем четырем излучателям по
отрезку кабеля длиной в 0,25 лямбды. Волновое
сопротивление кабеля может быть любым, но
кабель нужен с малыми потерями. Остановимся
на кабеле в 50 Ом. Теперь
расчитаем импедансы, которые получатся на
другом конце кабеля после трансформации(программа
tlcalc1.zip ):
Z1' = 139.6 +j40.5
Z2' = 42.7 -j46.2
Z3'=Z4'=
76.9 +j0
Напряжения на концах кабелей будут(допустим
кабеля 50 Ом):
U1 = 50 v
и угол
137+90=227 град
U2 = 50 v и
угол -137 +90= -47 град
U3=U4=
50 v и
угол 0 +90= 90 град.
Везде присутствует 90 град, т.к. кабеля в 0,25
задерживают фазу ровно на 90 градусов.
Совершенно очевидно, что нам придется
расчитать две ячейки, одна из которых будет
задерживать фазу
U2 а вторая будет опережать
U1. Третья фаза U3=U4=
0 град у излучателей не нуждается ни в каких
преобразованиях, т.е. излучатели с фазой 0
град будут питаться напрямую. Мы уже знаем, что те импедансы, которые
будут подведены к ячейкам не должны иметь
реактивную составляющую. Для этого, мы
переведем импедансы Z1'
и Z2'
в
параллельные эквиваленты с помощью
программы tlcalc1.zip, раздел 2.
Тогда получим:
Z1'пар.=151,35
+j521.69 Ом
Z2'пар.
= 92,68 -j85.66
Ом
Мы видим, что имеются значительные
реактивности, которые нужно
скомпенсировать, убрать. Первая
реактивность - индуктивная. Используем
раздел 3 tlcalc1.zip
и
вводим в ячейку емкости значение 521,69.
Результат - конденсатор 43 пФ. Не забываем
указать рабочую частоту 7,05 Мгц.
Точно также, но занося в ячейку выше
значение индуктивной реактивности 85,66
получаем катушку 1,93 мкГн.
Это означает, что на конце кабеля
питающего элемент 1 надо включить на землю
емкость 43 пФ, а на конце кабеля питающего
элемент 2 - катушку
1,93 мкГн также на землю.
Мы получили два импеданса, не содержащих
реактивности:
Z1''пар.=151,35
Ом
Z2''пар.=92,68
Ом.
Теперь пришла очередь расчитать ячейки
фазовращателя. Начнем
с ячейки для элемента 1 с фазой 137 град.
Открываем программу tpinet.zip и вводим значения частоты 7,05Мгц
, нагрузки слева и справа(одинаковы) 151,35,
фазовый угол 137 град, добротность катушки
фазовращателя 200
и
нажимаем ввод. Получаем результат, который
для нашего случая следует выбрать из
нижнего ряда. Почему? Нам
надо получить фазу 137 град, т.е. нам нужна
ячейка с опережающей фазой. Получается Т образная ячейка с
конденсаторами по 101 пФ и катушкой 3мкГн
посередине. Итак одна ячейка готова.
Также расчитываем вторую ячейку. В той же
программе вводим частоту 7,05 Мгц, нагрузки
по 92,68 Ом, фазовый угол 137 град и добротность
200. Получим
результат из верхнего ряда, т.к. нам нужна
ячейка для отстающей фазы -137 град. Получим П
контур с катушкой 2.5 мкГн и емкостями по 343 пФ.
Итак, мы имеем ячейкй с задержкой фазы
-137 град, еще ячейку с опережающей фазой
137 град. Ну а третья фаза 0 град получается
прямо с кабеля питания.
Осталось нам проделать заключительный
шаг - расчитать суммарный импеданс в общей
точке А соединения ячеек фазовращателей. В
эту точку сходятся три импеданса:
Z1''пар
= 151,35 Ом.
Z2''пар.
= 92,68 Ом.
Z3'=Z4"=
76.9 +j0 Ом
По правилу расчета общего сопротивления
для параллельных сопротивлений
получим:
Z общ.
= 32,9 Ом.
Для расчета СУ можно применить программу Networks www.qsl.net/km5kg. Вводим данные и получаем, что для согласования нужно включить катушку 0,54 мкГн последовательно с кабелем и емкость 325 пФ с кабеля на землю. Получаем в итоге схему на рис.4.

На этой
схеме представлены две ячейки
фазовращателей и схема СУ для согласования
входного кабеля 50 Ом с импедансом 32,9 Ом.
Компенсирующие емкость С1 и катушка L1
включены в общую коробку. Точка А
подключается к кабелю 1, точка В – к кабелю 2,
точка С – к кабелям
3 и 4, точка D
– к питающему кабелю.
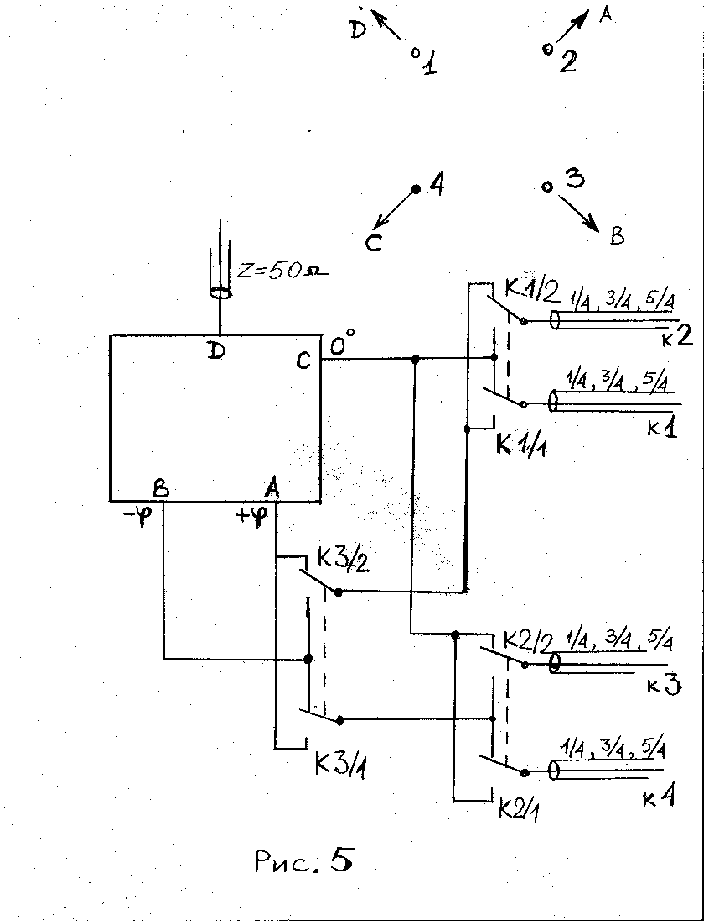
Для того, чтобы электрически вращать ДН, нам придется сделать несложную релейную коммутацию. Она показана на рис.5.

Как видно из схемы, которая содержит три
реле с 2 парами контактов каждое. К
контактам реле подключаются отрезки
кабелей по 1/4 лямбды и каждый отрезок идет
строго к своему излучателю. Длины кабелей
могут быть и 3/4, 5/4 лямбды и т.д.
На рисунке также дана таблица
истинности, которая помогает правильно
запитать реле. Ноль означает, что реле
обесточено, а 1 - включено.
|
Направление |
Реле
К1 |
Реле
К2 |
Реле К3 |
|
С |
0 |
0 |
0 |
|
D |
1 |
1 |
1 |
|
А |
0 |
0 |
1 |
|
В |
1 |
1 |
0 |
Направления и нумерация элементов
указана сверху на рис.5 Реле
лучше применять герметизированные с
мощными контактами. Реле можно разместить
либо в общей коробке с фазовращателями либо
в отдельной. Коробки должны быть
герметизированы. Длины проводников к реле
должны быть минимальны. Требования к
электрической прочности элементов зависят
от рабочей мощности.
Такую систему питания можно подстраивать по месту установки. К примеру П образная цепочка на рис.4 может быть перестроена на +/-10 град. путем изменения емкостей от 300 до 500 пФ(можно сдвоенный конденсатор) или катушки от 1,9 до 2,7 мкГн. Аналогично можно изменять фазу опережения для Т - образной цепочки. Такая методика намного технологичнее, нежели ,,шинковка,, кабелей в качестве фазирующих линий, методом подбора нужной длины отрезка кабеля.
Таким образом мы расчитали систему питания 4 элементов . Практически можно расчитать по этой методике и большее число элементов питания синфазной решетки. К примеру можно расчитать систему питания 8 элементной синфазной решетки UA1DZ. В этом случае нам придется расчитать 5 ячеек фазовращателей, да и схема релейной коммутации будет сложнее. Если еще учесть, что решетка Румянцева была 3-х диапазонной, то должно получится три раздельных коробки фазовращателей и отдельная коммутация ¼ кабелей от элементов, поскольку длины кабелей должны меняться с диапазоном(частотой). Но все это реально расчитать и построить.
В принципе эту методику можно применить и для расчета не только вертикальных решеток, но и систем из горизонтальных излучателей. Разница лишь в том, что к полученным импедансам элементов не надо прибавлять сопротивление потерь земли, поскольку у дипольных или рамочных антенн есть своя, интегрированная земля(плечо диполя, часть рамки ,,квадрата,, и т.д.) В остальном весь расчет будет аналогичным вышеприведенному.