Моя коллекция
BC-312 КВ радиоприемник
Диапазон: 1,5-18 Мгц
ПЧ 470 kc
Питание 14 вольт (умформер DM-21)
Сделано в 1943 году.
Принципиальная схема
Работал вместе с передатчиком BC-610
BC-457-A КВ передатчик
Диапазон: 4-5,3 Мгц
4 лампы: 1626, 2*1625, 1629
Принципиальная схема
Изготовитель "Western Electric"
BC-422-A антенное реле с индикатором тока
Телеграфный ключ
Изготовитель "J.H.Bunniel&Co. New York"
Гарнитуры:
Головные телефоны
Микрофон №7
Головные телефоны R-30-D

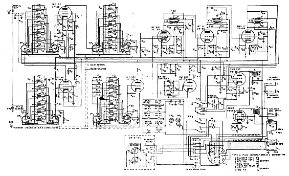
BC-348-J КВ-радиоприемник
Диапазон 200-500 кГц, 1.5-18 Мгц
Принципиальная схема

Прототип отечественного УС-9

Радиола "Кама"
Прием ДВ и СВ радиопрограмм
Изготовлен в 1954 г.
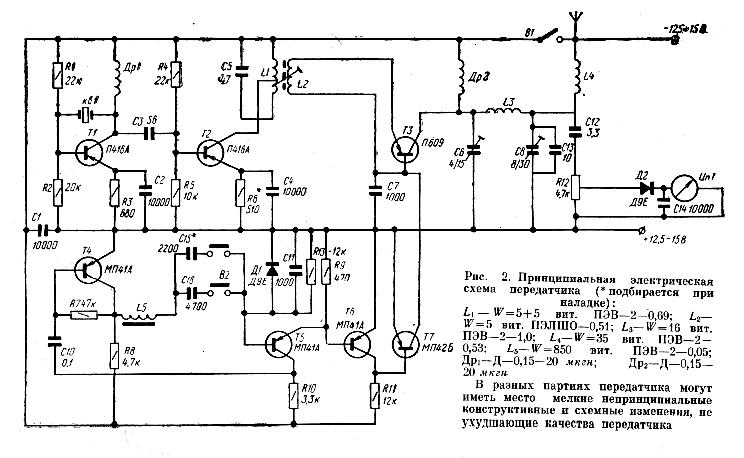
Радиоаппаратура "Пилот-2" для управления моделями.
Разработана и изготавливалась на Опытном заводе ЦНИИКА.
Схема передатчика
Телевизор "Ленинград Т-2"
Прием на 3-х каналах телевидения
Прием УКВ ЧМ, ДВ, СВ и КВ радиопрограмм
Изготовлен в ГДР по советской документации в 1953 г.
Вид конструкции
Радиоприемник "Спидола 10"
Производство рижского радиозавода 1967 год
Пока без фото:
Документы
Телевизор "Темп"
Патефон молотовского завода
Магнитофон "Яуза"
Магнитофон "Комета"