Na een aantal malen uitproberen loopt het aprs programma nu ook over de geluidskaart van de pc. Hoe deze configuratie aan te sluiten is eenvoudiger dan het lijkt.
Alles over soundcardpacket is hier te vinden.

De benodigdheden:

  • PC met windows vanaf Windows 95 tot Windows XP en geluidskaart

  • Een PTT-schakeling over een van de comporten van de PC

  • Het driverprogramma AGWPE (download hier)

  • Uiview, Winpack of andere door AGWPE ondersteunde software (download hier)

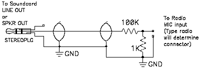
De schakeling van de comport is een uiterst eenvoudig schema dat ook veel gebruikt wordt voor toepassing met de andere modes zoals SSTV of PSK31. Klik op de schakelingen om het schema te vergroten.
Overigens is hier ter plaatse alleen schakeling 1 aangesloten, het tweede schema is om een en ander te beveiligen. Schakeling 1 is dus voldoende om te kunnen werken.

Schakelingen

De installatie is dan als volgt. De audio uitgang van de set gaat in de microfoon-ingang of line- in van de pc. Let hierbij wel op dat de audio van de set/computer niet te hard staat, voorkomen is beter dan genezen. De line-out of koptelefoon-uitgang van de pc moet worden aangesloten op de data/microfoon-ingang van de set/porto. De schakeling voor de PTT wordt aangesloten op de comport van de pc en de set.

Als de "hardware" is aangesloten, rest het installeren van de software. Laad het AGWPE-programma en de drivers. Start het programma en open dmv een klik op de rechtermuisknop het menu. Kies eigenschappen/properties en maak een port aan met de soundkaart driver. Installeer het Uiview-programma met als hostmode AGWPE en vul de stationsetup en comsetup in.
Installeer zo nodig een aantal kaarten van het gewenste gebied.
Zie ook de APRS-pagina

Bijkomend voordeel van de PTT-schakeling is dat de geluidskaart van de PC op deze manier ook voor bijna alle andere digitale modes gebruikt kan worden.

Note: Bij problemen met de ontvangst controleren of de eigenschappen van het opnemen van geluid van de computer ingesteld staan op de line in of microfoon !!!!