OUDE PROJECTEN
(1963-1982)
CLICK HERE FOR THE ENGLISH VERSION
Dit verhaaltje gaat over hoe het begon met de radio hobby!
De radio hobby begon pas echt met deze Philips EE8-EE20 bouwdoos!
Het werkte met een systeem van veertjes waaronder
de draadjes van de onderdelen werden geklemd.
Het radio project van de Philips EE8-EE20 bouwdoos
had gelijk al mijn interesse!
Het schema. De diode detector kan alleen maar werken met een germanium
diode vanwege de benodigde lekweerstand die zo'n diode heeft.
De morse code generator met eenvoudige seinsleutel.
De supplement ontvanger was het eerste soldeerproject. Het werkte met een soort popnagels die je met een hamer in de gaatjes van een pertinax plaatje moest slaan. Hierin werden de onderdelen gesoldeerd. |
|
De buizenradio "ATOM" uit hetzelfde boek werd gebouwd.
De ATOM ontvanger was de eerste buizenradio. Het was een batterij buis. Deze ontvanger werkte niet zo goed als de SUPPLEMENT, de terugkoppeling werkte minder soepel. Wel een prima middengolf ontvangst. Helaas heeft deze ontvanger maar heel kort gewerkt. Bij het aanzetten werd per ongeluk de 1.5V gloeidraad op de 12V plaatspanningsbatterij aangesloten. Een heel kort flitsje uit de buis en deze was overleden. Geld voor een nieuwe was er even niet...
![]() De ATOM ontvanger was de eerste buizenradio. Het was een batterij buis. De plaatspanning was 13.5V (3 platte batterijen in serie) en de gloeispanning een dikke 1.5V batterij. Mijn zakgeld was niet voldoende om deze batterijvreter te voeden... |
|
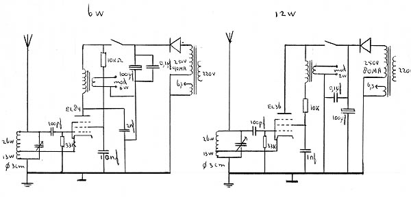
De illegale zenders.
Natuurlijk kwamen er ook illegale zenders. De middengolfzenders zijn van heel slechte kwaliteit, ik gebruikte een draad op zolder van ongeveer 6 meter lengte als antenne. Toch werden nog verbindingen gemaakt tot een afstand van 10 km en was de ontvangst binnen een bereik van 3 km nog goed.

De twee middengolfzenders. Stabiliteit was slecht. Een draad
op zolder van ongeveer 6 meter lengte werd als antenne gebruikt.

De eenvoudige FM zender met een sprietantenne had toch nog een bereik van 1 kilometer.

De FM zender met extra eindtrapje en dipoolantenne had een wat groter bereik.
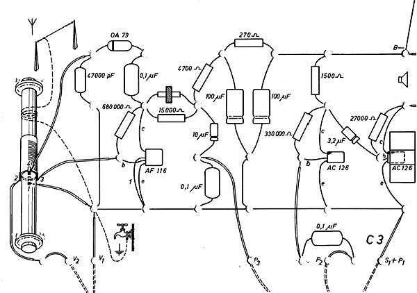
De eerste amateur ontvanger.
De eerste amateur ontvanger was met een EC92 radio buisje en een kristal telefoon. Hij was voor de 80 meter amateurband en er konden vele zendamateurs in SSB mee worden ontvangen. Morse code kon ik toen nog niet ontcijferen.

De 80 meter ontvanger met EC92. De 150 volt zener
staat wel in het schema maar is nooit gemonteerd.
De eerste amateur zender.
In 1976 en 1977 werd de eerste zender gebouwd. Deze 2 meter transceiver kon in FM en CW zenden. Voor het ontvangen van CW signalen werd het 5.5 MHz IF signaal op een Drake SSR1 kortegolf ontvanger aangesloten. Met deze zelfbouw FM transceiver zijn niet alleen heel veel FM verbindingen gemaakt maar ook veel verbindingen in CW en met een oude mechanische telex.

De eerste amateur zender was een zelfbouw transceiver voor 2 meter.
Voor CW ontvangst werd het 5.5 MHz IF signaal op de SSR1 ontvanger aangesloten.
![]() De zelfbouw CW transceiver. In 1999 is deze helemaal gemodificeerd. |
![]() Er zat een uitstekend CW filter met 88mH spoelen in. Maar daardoor was hij wel erg gevoelig voor 50 Hz velden van transformatoren. |
De eerste computer.
Zo rond 1980 werd de eerste computer aangeschaft. Het was een bouwpakket, de Acorn Atom en hij kostte een vermogen in die tijd. Programma's werden met een cassette recorder opgeslagen en een kleine zwart wit TV werd gebruikt als monitor. De kloksnelheid was 1 MHz en er zat een 6502 8 bits microcontroller in. Er zat ROM geheugen in en 8k RAM geheugen dat later uitgebreid werd naar 32k. Ook heb ik een optie bijgebouwd dat je eeproms in een voetje kon zetten. Dan hoefde je niet steeds het programma van een cassette recorder te laden, het stond in de 4 k eeprom.

Computer uit de tijd dat men nog op blote voeten liep! Het was
de Acorn Atom. Een kleine zwart wit TV werd gebruikt als monitor!
Portable met laag QRP vermogen.
In 1977 werd ik ook actief op de HF banden, morse code had mijn voorkeur vanwege de goede neembaarheid van zwakke signalen. Portable werken met laag QRP vermogen (maar 1 watt) vanaf allerlei locaties en weersomstandigheden werd een echte hobby. Dit gebeurde met eenvoudige zelfbouw CW transceivertjes met een VXO afstemming. Vooral de eenvoud van deze simpele transceivertjes en de mogelijkheid om met zo'n laag vermogen nog zoveel verbindingen te maken, spraken mij erg aan. Het was een enorm verschil vergeleken met het werken in de shack met de TS520 en 100 watt vermogen. Wat kan onze hobby ontzettend gevarieerd zijn.
Radiostilte van 1982 tot 1996.
Van 1982 tot 1996 werd er (bijna) niets aan de radio hobby gedaan. Er waren toen andere dingen zoals surfplanken en zeilboten. Wel werden een diepte meter met LED bar aanduiding en twee ontvangers voor weerberichten van kuststations gemaakt.
In 1996 werd begonnen met het bouwen van een nieuwe kortegolf radio. Deze ontvanger en latere projecten kun je vinden op deze website.