FREQUENTIE STANDAARD VOOR ALLOUS 162KHZ
(GEMODIFICEERDE DROITWICH STANDAARD)
(2012)
CLICK HERE FOR THE ENGLISH VERSION

Frequentie standaard gelocked op de zender Allouis op 162 kHz.
En de radio ontvanger voor 162 kHz, een gemodificeerde middengolf ontvanger.
OBSOLETE! TRANSMITTER SHUT DOWN
Droitwich frequentie standaard modificeren voor Allouis 162 kHz.
De frequentie standaard die gelocked is aan de zender Droitwich (BBC op 198 kHz) is heel gemakkelijk te modificeren voor gebruik met de Franse zender Allouis op 162 kHz. Het enige wat we moeten doen is de bedrading tussen de verschillende delers wijzigen. En de ontvanger moet uiteraard op 162 kHz worden afgestemd in plaats van 198 kHz. De zender Allouis is ook in Zuid Europa nog goed te ontvangen. Voor niets gaat niet alleen de zon op maar kunnen we ook onze frequentie standaard locken op dit nauwkeurige signaal! Het is niet nodig om een aparte ontvanger te maken, er kan een gewone langegolf omroepradio worden gebruikt die afgestemd wordt op 162 kHz.

Locatie van de langegolf zender Allouis.
Deze is ook in Zuid Europa goed te ontvangen.
De verschillen tussen de blokschema's
Het enige verschil is de toegepaste delers, maar het zijn dezelfde 2 en 5 deler ic's als in de schakeling voor Droitwich. Het enige wat we moeten doen is de bedrading tussen de diverse deler ic's wijzigen.
De 1 kHz uitgang kan gewijzigd worden in 10 kHz of 1 MHz of andere waarden. De 20 kHz uitgang had ik nodig, die wordt gebruikt voor de kalibratie van de QRSS baken ontvanger.

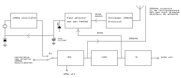
Blokschema van de originele frequentie standaard voor Droitwich.

Blokschema van de gemodificeerde frequentie standaard voor Allouis.
Alleen de delers zijn anders, maar het zijn wel dezelfde ic's.
Hoe werkt het?
Het signaal op 162 kHz wordt ontvangen met een omroepradio.
De 10 MHz kristal oscillator wordt gedeeld door 125 en door 5000. Van het signaal na de 125 deler (80 kHz) wordt de 2e harmonische gebruikt. Zo krijgen we een 160 kHz en een 2 kHz signaal. Het 160 kHz signaal wordt geinjecteerd in de ferriet antenne van de omroepontvanger. Dit 160 kHz signaal zal met het 162 kHz signaal van Allouis een interferentie toon van 2 kHz in de luidspreker veroorzaken. Deze audio toon van 2 kHz wordt in een fase detector vergeleken met het 2 kHz signaal van de deler. Wanneer de beide 2 kHz signalen niet exact gelijk zijn, wordt de frequentie van de 10 MHz oscillator bijgeregeld.
Het 2 kHz audio signaal wordt overigens gefilterd om geen last te hebben van spraak en muziek.
Ik wilde graag een nauwkeurig 20 kHz signaal hebben voor de kalibratie van mijn QRSS baken ontvanger op 10140 kHz en een nauwkeurig 1 kHz signaal. Maar je kunt het 1 kHz signaal ook wijzigen in 10 kHz, 200 kHz of 1 MHz en zelfs 5 MHz. En eventueel is er ook het 10 MHz signaal beschikbaar wanneer je de overgebleven NAND als buffer gebruikt. Maar je kunt natuurlijk je eigen gewenste frequenties kiezen uit een van de beschikbare signalen die uit de delers komen.
Lange golf omroep ontvangers die bruikbaar zijn
voor ontvangst van Allouis 162 kHz en Droitwich 198 kHz.
Kalibratie van externe 10 MHz oscillatoren
Voor het kalibreren van externe 10 MHz oscillatoren wordt de schakelaar S1 omgezet en de interne 10 MHz oscillator vervangen door het externe 10 MHz signaal. Dit wordt uiteraard niet bijgeregeld, dat moeten we zelf doen. Op het scherm van een oscilloscoop wordt het gefilterde 2 kHz audio signaal gezet, afkomstig van de omroep ontvanger. De oscilloscoop wordt getriggerd door het 1 kHz signaal uit de delers. Het enige wat we nu moeten doen is de 10 MHz oscillator zodanig afregelen dat de 2 kHz sinus van het audio stilstaat op het beeldscherm (niet naar links of rechts loopt). Wanneer het beeld in 1 minuut 1 periode naar links of naar rechts loopt, is de afwijking van het 10 MHz signaal ongeveer 1 Hz.

Kalibratie met een oscilloscoop. Het audio signaal op het scherm moet
stilstaan en dus niet naar links of naar rechts lopen wanneer de frequentie
exact 10 MHz is. Triggering gebeurt op het 1 kHz signaal op kanaal 2.
Fase modulatie van data signalen
Helaas kunnen we het 162 kHz signaal niet zomaar gebruiken. Er zit namelijk fasemodulatie op waarmee data wordt uitgezonden. Dit is goed te zien op het onderstaande scoopbeeld. De sinus vertoont jitter. Deze fasemodulatie moet in het lusfilter van de frequentie regeling worden onderdrukt, anders vind je deze fase modulatie versterkt terug in het 10 MHz signaal van de frequentie standaard. Dit kan door het lusfilter heel traag te maken. Hierdoor wordt de regeling ook ongevoeliger voor stoorsignalen. Het lusfilter heeft in de schakeling dan ook twee standen: een snelle stand om de oscillator te laten locken en een trage stand voor als de kristal oscillator gelocked is.

Fasegemoduleerde data signalen moeten worden weggefilterd
in het lusfilter door dit heel traag te maken!
Het schema
Rechtsboven vind je de 10 MHz kristal oscillator. Met behulp van S1 kan gekozen worden voor de interne oscillator die wordt bijgeregeld of voor een extern 10 MHz oscillator signaal dat gecalibreerd moet worden. De interne 10 MHz oscillator kan worden bijgeregeld door een varicap BB212 waarvan maar 1 helft gebruikt wordt. De beide 74HCT390 zijn de delers, deze bestaan uit 2-delers en 5-delers.
Het 160 kHz signaal wordt in de ontvanger geinjecteerd met een kort draadje dat bij de ferriet antenne van de ontvanger wordt gehouden. Dus geen lusje om- of bij de ferriet antenne maar capacitieve koppeling met een draadje, dat werkt veel beter. Speel een beetje met de lengte en plaats van het draadje en de waarde van de 10k ohm weerstand. Ik moest de 10k ohm weerstand wijzigen in 2200 ohm, omdat er wat meer signaal nodig was dan voor Droitwich. De 2e harmonische van 80 kHz heeft een lager niveau dan het signaal van 200 kHz in de Droitwich schakeling.
Andere standaard frequenties
Het is eenvoudig mogelijk om de 1 kHz standaard frequentie te wijzigen in andere waarden. Daarvoor moet pin 1 van U3a met een andere deler worden verbonden dan in het schema is weergegeven:
| Gewenste standaard frequentie |
Verbind pin 1 van U3a met |
|
1 kHz
|
pin 13 van U3b
|
|
10 kHz
|
pin 13 van U2b
|
|
200 kHz
|
pin 9 van U2b
|
|
1 MHz
|
pin 7 van U2a
|

Schema.
De bedrading is gewijzigd en de 10k ohm weerstand gewijzigd in 2200 ohm.
big diagram
Het 2 kHz audio signaal van de ontvanger (hoofdtelefoon uitgang) wordt aangesloten op "lf in" en eerst gefilterd in 2 actieve filters met een LM358. Zo wordt het overgrote deel van de modulatie van de zender weggefilterd en blijft een goed bruikbaar 2 kHz signaal zonder storing van uitgezonden muziek of spraak over. Beide filters zouden een Q factor van 10 moeten hebben en versterken het signaal totaal ook nog eens 4x. Met de 500 ohm potentiometers worden ze exact op 2 kHz afgeregeld. Het gefilterde audio signaal kan met een oscilloscoop worden bekeken door deze aan te sluiten op "2 kHz audio".
De NAND U1C maakt van het 2 kHz audio signaal een blokgolf. U1B is de fase detector. De gemiddelde waarde van de uitgangsspanning van deze fase detector varieert tussen de 2.5 V en 5.0 V, prima voor het regelen van de varicap. De oude versie had een XOR als fase detector, die gaf een spanning tussen de 5 en 0 V als uitgangsspanning, maar dat is te laag voor de varicap. Wel zit er fase modulatie op en een 2 kHz blokgolf, maar dit wordt in het lusfilter weggefilterd.
Het lusfilter bevat twee elco's, een van 10 uF en een van 100 uF. De 10 uF condensator filtert het 2 kHz signaal weg. Met S2 kan de tijdconstante van het filter kleiner gekozen worden om de oscillator te laten locken. Het filter met de 1M ohm weerstand is namelijk te traag om de oscillator te laten locken. Wanneer de oscillator gelocked is, wordt de schakelaar in de stand "locked" gezet en wordt de 10 MHz oscillator langzaam bijgeregeld. Fasemodulatie, de 2 kHz blokgolf en stoorsignalen in de ontvangst hebben dan praktisch geen invloed meer.
De stabiliteit van de regellus kan worden ingesteld met de 10k potentiometer in serie met de 100 uF elco. Bij 0 ohm duurt het heel lang voordat de schakeling stabiliseert, de frequentie blijft heel lang op- en neer schommelen. Ook na storingen in de ontvangst duurt het heel lang voordat de frequentie weer stabiel is. Met de instelpotentiometer op 5k ohm ingesteld, stabiliseert de schakeling veel sneller.
Aan de led kun je zien of de schakeling gelocked is. Zo niet, dan gaat de led langzaam aan- en uit met de verschilfrequentie tussen de beide 2 kHz signalen.
Er is nog 1 NAND over, die kun je bijvoorbeeld gebruiken als buffer na de kristal oscillator wanneer je een 10 MHz signaal wilt hebben.

In plaats van een lange golf omroep ontvanger wordt een gemodificeerde
middengolf ontvanger gebruikt voor ontvangst van Allouis 162 kHz.
Gemodificeerde middengolf ontvanger
De frequentie standaard werkte prima met de portable radio. Maar op een rommelmarkt kocht ik een kleine middengolf radio voor 0.50 Euro. Deze werd geschikt gemaakt voor ontvangst van Allouis op 162 kHz door condensatoren parallel te schakelen aan de twee secties van de variabele afstemcondensator. Aan de sectie voor de ferriet antenne was dat 1650 pF (1500 pF + 150 pF) en aan de oscillator sectie 150 pF. De 3 volt voedingsspanning komt via twee diodes voor de verlaging van de spanning uit de 5 volt spanningsstabilisator van de frequentie standaard. De radio is vast verbonden met de frequentie standaard met een 4 aderig afgeschemd kabeltje van 1 meter lengte. Voedingsspanning, audio en het 160 kHz injectie signaal lopen via dit kabeltje. De luidspreker kan met een schakelaar aan- of uit worden geschakeld.
Resultaten
Een goede indruk van de nauwkeurigheid kan worden verkregen door het 2 kHz audio signaal op een oscilloscoop te zetten en deze te triggeren met het 2 kHz (of 1 kHz) signaal van de delers. Nadat de regellus gestabiliseerd is, zijn de afwijkingen gedurende een paar seconden ongeveer 1/50 periode. Oftewel, de 2 kHz sinus loopt 1/50 periode naar links of naar rechts gedurende een paar seconden. Dit is niet nauwkeurig te meten vanwege de fase modulatie. De afwijkingen worden bijvoorbeeld veroorzaakt door instabiliteit van de 10 MHz oscillator, door storingen (fading) in de ontvangst, de fase modulatie van de data signalen en de gemoduleerde spraak- en muziek. Dit betekent dat de frequentie afwijking van het 10 MHz oscillator signaal minder is dan 1 Hz. Metingen met een externe nauwkeurige 10 MHz oscillator toonden aan dat de afwijking op 30 MHz zelfs kleiner was dan 1 Hz. Voor ons amateurs is dat meer dan voldoende!
Binnenkant
TERUG NAAR INDEX PA2OHH