in order to reduce emissions and adhere to ECO label, almost all modern cars are equipped with a 'START-STOP' ECO circuit, which shuts off the engine when the car is stopped at a traffic light, or queuing in a bumper to bumper traffic jam ...

In these cars, there is a push button which allows to disable the START-STOP feature., if for example you are driving a lot in the city and the engine is constantly shutting down and restarting, what is not in favor of ecology and putting a lot of stress on engine mechanical parts.
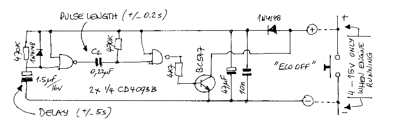
Hereby a little circuit I developed which automatically 'depresses' the START-STOP disable feature a couple of seconds each time after the engine is started.
Two versions are provided :
2 wire version : in this version, the circuit is placed over the 'disable' push button. As the circuit produced a pulse a couple of seconds after being powered-up, it is imperative that the wires toward the 'disable' push button are not powered unless the engine is running. The voltage when the engine is running should be between 4 and 15v about, able to provide a couple of mA current. If this is not the case, the 4-wire circuit is the only option !

4 wire version : in this version, the circuit is powered-up when engine is running. The pulse is provided on an opto-coupler, therefore galvanically isolated - so the car START-STOP device of the car cannot be damaged ! The 4N35 optocoupler output should be placed over the actual 'disable' switch, respecting the polarity.

The delay of the pulse (from engine starting / circuit being powered up) can be adjusted by C1 value, the length of the pulse can be adjusted by the value of C2. It might be required to adjust / increase C2 if the START-STOP circuit is not detecting the simulated push of the button ...

.