My PIC Controller board
=======================
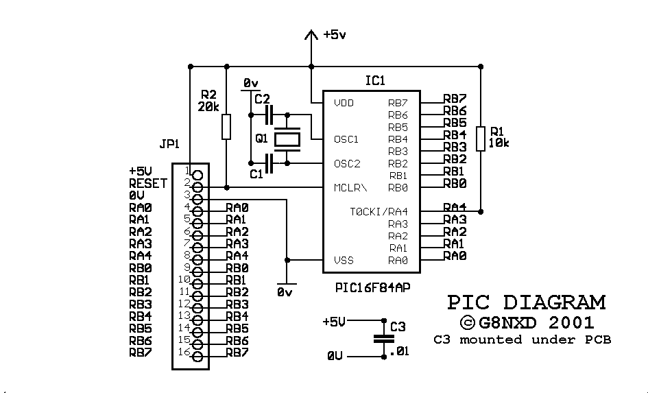
This page describes my homebrew PIC controller that I use for many projects. The general idea is that it is a removable and therefore easily changed controller for anything from an Iambic Keyer to a full blown HF Tranciever. The PCB is approximatley 1.7" by 1" and is easily hand drawn and etched.
I tend to recycle old computers for nearly everything so I used the 0.1" pin header connector as these are easily available from such sources. The board can be mounted vertically or horizontally depending on the type of pin header and pin socket you use. Another reason for 0.1" pin headers is that a backplane can easily be made using copper stripped perf-board ( Veroboard in UK ) for initial development of new projects, perf-board is also useful as a 'riser card' to lift the operating PIC out of a chassis giving easy access for de-bugging.
The XTAL can be any frequency you wish and the PCB will happily use any 0.2" pin spaced xtal you wish to fit. The values of the capacitors C1 and C2 depend on the xtal and should be chosen after reading the PIC datasheet.
On the Top layer there are small round pads shown, these indicate that the component wires are used as vias and these should be soldered top and bottom of the PCB, the square pads indicate ordinary vias and are made with bits of wire soldered top and bottom. C3 can be mounted under the PIC (if its physically small enough or if the pic is mounted in a suitable socket) otherwise its mounted on the track side.
Here is a link to all the files that you need to make your own PCB. pic_cpu.zip its about 70K long and includes all the relevant layers
You will need a free demo copy of Eagle from CadSoft to print the etch patterns. Alternativly you could scale the files from this page to the correct size. The PCB has been designed for ease of hand drawing the etch resist using a suitable pen. I use a Staedtler Lumocolor 313 which is easily obtainable from most office supplies
If anyone notices any errors, spelling or otherwise, please let me know. My e-mail address is on my home page




