My Station Components
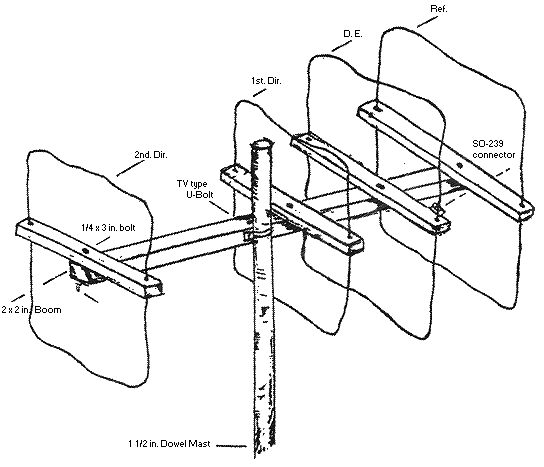
A sketch of the Quad I built
AND complete plans for the Quad.
Here is a picture of the J-Pole I built and use.
The plans for the J-Pole came from ARROW ANTENNA

Icom 207h Icom W32A
Icom IC746
Here's a look at my
QSL CardFranklin County Amateur Radio Emergency Service
Capital Amateur Radio Society
Back to my Home Page
Bill Yarnell KF4RAV [email protected]
last updated 08/30/00