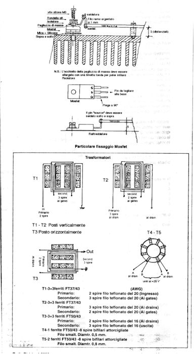
C.  RF Transformers details for our low cost Mosfets  QRP HF Linear Amplifier, mosfet mounting details with large cooler. Copyrights 1999 IK4AUY, I4FAF. See photos under  "I4FAF HOMEBREW GALLERY"