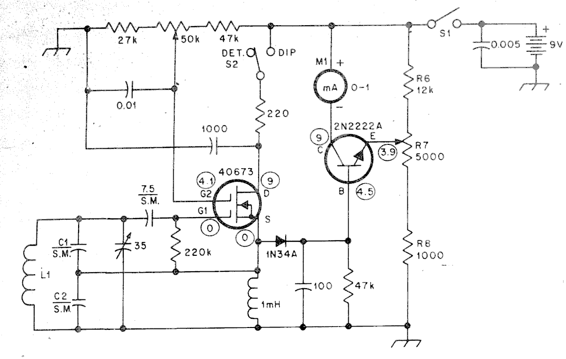
Grid Dip da ARRL Handbook (fine anni '80 - inizio '90)


i0ady/2003