In this state, the SCF determines how to further process.
The
following events are considered in this state:
- (e4) Processing_Completed: This is an internal event. In this case,
the SCF has completed the processing of the instructions to the SSF.
This event causes a response to be sent to the SSF and a transition to
State 1, Idle;
- (e5) SR_Facilities_Needed: This is an (internal) event caused by
the need of the SL for additional information from the call party; hence
is the necessity to set up a connection between the call party and the
SRF. This event causes a transition to State 3, Routing to Resource;
- (e6) Processing_Failure: This (internal) event causes an
appropriate exception processing and a transition back to State 1, Idle.
- NOTE:
- Here and further in this ETS, the exception processing is not
defined. It is assumed, however, that it has to include releasing all
the involved resources and sending an appropriate response message to
the SSF.
To further describe the procedures relevant to this state, the state
is divided into three sub-states, which are described in the following
three subclauses (this subdivision is illustrated in figure 18).
- NOTE 1:
- Including Call Information Request and Apply Charging with report
request.
- NOTE 2:
- Including Call Information Report, Apply Charging Report, and Event
Notification Charging.
- NOTE 3:
- Including Call Information Report and Apply Charging Report.
Figure 18: Partial
Expansion of the State 2 FSM
State 2.1, Preparing SSF Instructions, is where the initial
decision is made on whether the SDF information or a Specialized
Resource is needed, whether queueing is supported, etc. In addition,
the EDP-R-related processing is also performed in this state.
On
entering this state, the SCSM starts or resets the timer TSCF-SSF.
The following events are considered in this state:
- (e2.1) Non-Call_Processing_Instructions: This is an internal event
caused by the SL when there is a need to send such an operation to the
SSF. It causes one or more of the following operations to be issued to
the SSF:
- Apply Charging;
- Call Information Request;
- Furnish Charging Information;
- Request Report BCSM Event;
- Request Notification Charging Event;
- Reset Timer;
- Send Charging Information; and
- Cancel (for all report requests).
This event causes a transition back to State 2.1, Preparing SSF
Instructions.
- (e2.2) SR_Facilities_Needed: This is an internal event, caused by
the SL when there is a need to use the SRF. This event maps into the
SCSM event (e5).
- (e2.3) Call_Processing_Instruction_Ready (Monitoring not required):
This is an internal event caused by the SL when the final
call-processing-related operation is ready and there is no armed EDP
and no outstanding Call Information Report or Apply
Charging Report operations. It causes one of the following
operations to be issued to the SSF:
- In addition, one or more of the following operations may be issued
to the SSF prior to the operations listed above:
This event maps into the SCSM event (e4).
- (e2.4) Call_Processing_Instruction_Ready (Monitoring required):
This is an internal event caused by the SL when a
call-processing-related operation is ready and the monitoring of the
call is required (e.g., an EDP is set, or there is an outstanding Call
Information Report or Apply Charging Report, or there is a
need to issue such a request). It causes one of the following
operations to be issued to the SSF:
In addition, one or more of the following operations may be issued
to the SSF prior to one of the operations listed above:
- Apply Charging;
- Call Information Request;
- Furnish Charging Information;
- Request Report BCSM Event;
- Request Notification Charging Event; and
- Send Charging Information.
This event causes a transition into State 2.3, Waiting for
Notification or Request.
- (e2.5) Ready_for_Queueing_Processing: This is an internal event
caused by the SL when queueing of the call is required. This event
causes a transition into State 2.2, Queueing FSM.
- (e2.6) Processing_Failure: This is an internal event, and it maps
into the SCSM event (e6) Processing_Failure.
When the SCF is processing the Query from the SSF/CCF, it may find
that the resource to which the call shall be routed is unavailable. One
possible reason causing the resource to be unavailable is the "busy"
condition.
- NOTE:
- The manner in which the status of the resources is maintained is
described in subclause 7.1.2.4.3.
Such a resource may be an individual line or trunk or a
customer-defined group of lines or trunks. In the latter case, the word
"busy" means that all lines or trunks in the group are
occupied; and the word "idle" means that at least one line or
trunk in the group is idle.
If the resource is busy, the SCF may
put the call on queue and resume it later when the resource is idle. The
following operations can be sent in this state:
- Apply Charging;
- Call Information Request;
- Furnish Charging Information;
- Request Report BCSM Event;
- Request Notification Charging Event;
- Reset Timer; and
- Send Charging Information.
The following events are considered in this state:
- (e2.10) Queueing_Processing_Finished: This is an internal event
caused by the SLP when it is ready to prepare the call-related operation
to the SSF. This event causes a transition to State 2.1, Preparing
SSF Instructions.
- (E2.11) Abort_from_SSF: This is an external event caused by the
reception of the Abort message from the SSF (on call
abandonment), and it causes a transition that maps into the SCSM event
(e4).
This state further expands into an FSM, which is depicted in figure
19.
This FSM does not explicitly describe all possible combinations
of resource monitoring functions used for queueing. The following
possibilities may be used in implementations:
- monitoring based on issuing by the SCSM of the Request Event
Report BCSM operation and subsequent reception of the Event
Report BCSM operation to report the availability of the resource.
Both the Request and Report occur in a single different call context. In
this case, the Query and Update operations to the SDF or
equivalent SCF functionality may be used for scanning the status of
resources.
In the rest of this subclause, the state-by-state description of the
FSM is followed by the description of the supporting mechanisms of the
SCME.
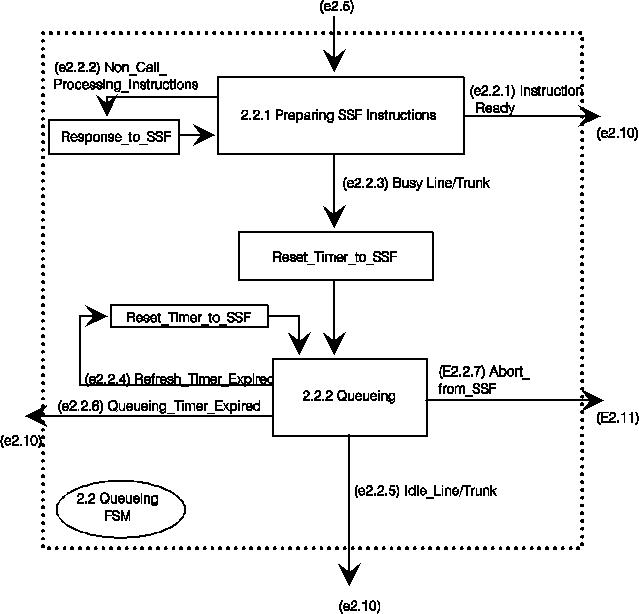
Figure 19: Partial
Expansion of the State 2 FSM as Related to Queueing
In this state, the SCSM prepares the instructions for the SSF to
complete the call. The following events are considered in this state:
- (e2.2.1) Instruction_Ready: This is an internal event that takes
place only when the required resource is available. In this case, the
SCSM has obtained the address of the free resource via the Get_Resource
method of the RCO (see subclause 7.1.2.4.3). This event causes a
transition to the State 2.1 Preparing SSF Instructions
(transition (e2.10)).
- (e2.2.2) Non-Call_Processing_Instructions: This is an internal
event caused by the SL when there is a need to send such an operation
to the SSF. It causes one or more of the following operations to be
issued to the SSF:
- Apply Charging;
- Call Information Request;
- Furnish Charging Information;
- Request Report BCSM Event;
- Request Notification Charging Event;
- Reset Timer; and
- Send Charging Information.
- This event causes a transition back to State 2.2.1, Preparing
SSF Instructions.
- (e2.2.3) Busy_Line/Trunk: This is an internal event caused by the
RCO when no terminating line/trunk is available. This event causes the
ResetTimer operation, with a suitable queueing timervalue, to be
sent to the SSF, and a transition to State 2.2.2, Queueing.
In this state, the SCSM is awaiting an indication from the RCO to
proceed with routing a call to an idle trunk/line. The support of
playing various announcements is also provided when the SCSM is in this
state. In this ETS, the relevant further expansion of the state is not
provided; it is, however, not different from that of the SCSM States 3
and 4. However, if announcements are completed before the call is
dequeued and the SSF FSM has transitioned to state Waiting for
Instructions, the ResetTimer operation should be sent to set the
TSCF-SSF with an appropriate value. Once the SCSM enters this state,
the Queueing Timer is started, and the TSCF-SSF is reset. The
respective roles of these timers are as follows:
- the Queueing Timer limits the time that a call can spend in the
queue, and its value may be customer-specific;
- the TSCF-SSF signals when the Reset Timer operation shall
be sent to the SSF/CCF lest the latter abandons the call. Hence, the
value of this timer is set in agreement with that of the relevant timer
TSSF within the SSF/CCF.
The FurnishChargingInformation operation may also be sent to the SSF
at this time to indicate the initiation of queuing for call logging
purposes.
The following events are considered in this state:
- (e2.2.4) Refresh_Timer_Expired: This is an internal event, which
results in sending the Reset Timer operation to the SSF/CCF and
a transition back to the same state.
- (e2.2.5) Idle_Line/Trunk: This is an internal event, which maps
into the State 2 event (e2.10).
- (e2.2.6) Queueing_Timer_Expired: This is an internal event, which
results in processing the Cancel method of the RCO and causes a
transition out of this state to the State 2.1 Preparing SSF
Instructions (Transition (e2.10)) (following procedures depends on
decision of the SL that may play (or not play) the terminating
announcement).
- (E2.2.7) Abort_from_SSF: This is an external event caused by the
reception of the Abort message from the SSF (on call abandonment), and
it causes a transition that maps into the State 2 event (E2.11). The
Service Control Managing entity (SCME) takes care of updating the
queueing data via the Cancel method of the RCO.
In this state, the SCSM waits for a notification or a request from
the SSF.
On entering this state the SCSM stops the timer TSCF-SSF.
The following events are considered in this state:
- (E2.7) EDP-R: This is an external event, caused by a reception of
the following operation:
- Event Report BCSM (for EDP_R)
This event causes a transition to State 2.1 Preparing SSF
Instructions.
- (E2.8) Not_Last_EDP-N: This is an external event, caused by a
reception of one of the following operations:
- Apply Charging Report;
- Call Information Report;
- Event Report BCSM (for EDP_N);
- Event Notification Charging.
In this case, there is still an outstanding armed EDP or an
outstanding Call Information Report or Apply Charging Report
operations. This event causes a transition to back to State 2.3 Waiting
for Notification or Request.
- (E2.9) Last_EDP-N: This is an external event, caused by a reception
of one of the following operations:
- Apply Charging Report;
- Call Information Report;
- Event Report BCSM (for EDP_N).
In this case, there is no outstanding armed EDP and no outstanding
Call Information Report or Apply Charging Report operations. This event
maps into the SCSM event (e4).
This concludes the description of
State 2 Preparing SSF Instructions.
The resource is any SRF facility (e.g., Intelligent Peripheral).
In this state, interactions with the SSF are necessary. Accordingly, the
following events cause transitions out of this state:
- (e7) Resource_Attached: The SRF is available. This event causes a
transition to State 4, User Interaction;
- (e8) Hand-off_Needed: When the Hand-off procedure is initiated, the
SCSM terminates the interaction with the initiating SSF. This event
causes a transition to the State 1, Idle. When the Assist
Request Instructions operation from the Handed-off SSF is received
by the SCME, the SCME creates the new SCSM. The SCF shall maintain
sufficient information in order to correlate the subsequent
AssistRequestInstructions operation (from the assisting SSF or SRF) to
the existing Service Logic Program Instance (SLPI);
- (E9) Failure_from_SSF: The inability of the SSF to connect to
requested resources causes a transition to State 2, Preparing SSF
Instructions; and
- (e10) Timer_Expired: This event takes place when TASSIST/HAND-OFF
expires. This event causes a transition to State 2, Preparing SSF
Instructions.
To further describe the procedures relevant to this state, the
state is divided into two sub-states, which are described in the
following two subclauses (this subdivision is illustrated in figure 20).
Figure 20: The State 3 FSM
In this state, the SCSM determines the User Interaction mode to
connect the call to SRF. The following events are considered in this
state:
- (e3.1) Instruction_Ready: This is an internal event that takes
place only when the Initiating SSF relay case. In this case, the SCSM
sends the Connect to Resource operation accompanied by Play
Announcement or Prompt & Collect User Information
operation to the Initiating SSF, and transits out to the State 4 User
Interaction. This transition maps into the event (e7);
- (e3.2) Assist_Needed: This event is an internal event that takes
place when the Assisting SSF is needed or Direct SCF-SRF relation is
needed. In this case, the SCSM sends the Establish Temporary
Connection operation to the Initiating SSF with the Assisting SSF
address or SRF address, and transits to the State 3.2 Waiting for
Assist Request Instructions; and
- (e3.3) Hand-off_Needed: This is an internal event that takes place
only when the Hand-off case. In this case, the SCSM sends the Connect
operation with the Handed-off SSF address to the Initiating SSF, and
transits to the State 1 Idle. This transition maps into the
event (e8). The SCF shall maintain sufficient information in order to
correlate the subsequent AssistRequestInstructions operation (from the
assisting SSF or SRF) to the existing SLPI.
In this state, the SCSM waits for the Assist Request
Instructions operation from the Assisting SSF (SSF relay case) or
from the SRF (Direct SCF-SRF case). On entering this state the SCSM
starts the Timer TASSIST/HAND-OFF, and resets the timer TSCF-SSF. The
following events are considered in this state:
- (E3.4) Assist_Request_Instructions_from_SSF (Assisting SSF relay
case): This is an external event caused by the receipt of Assist
Request Instructions from the Assisting SSF. In this case, the SCSM
transmits the Connect to Resource operation accompanied by Play
Announcement or Prompt & Collect User Information
operation to the Assisting SSF, and transits out to the State 4, User
Interaction. This transition maps into the event (e7);
- (E3.5) Assist_Request_Instructions_from_SRF (Direct SCF-SRF case):
This is an external event caused by the receipt of Assist Request
Instructions from the SRF. In this case, the SCSM transmits the Play
Announcement or Prompt & Collect User Information
operation to the SRF, and transits out to the State 4, User
Interaction. This transition maps into the event (e7);
- (e3.6) Refresh_Timer_Expired: This is an internal event that takes
place on the expiration of TSCF-SSF. In this case, the SCSM transmits
the Reset Timer operation to the Initiating SSF, and transits
back to the same state;
- (e3.7) Assist_Timer_Expired: This is an internal event that takes
place on the expiration of TASSIST/HAND-OFF. In this case, the SCSM
informs the SCME and SLP, and transits to the State 2 Preparing SSF
Instructions. This event maps into the event (e10); and
- (E3.8) Initial_SSF_Failure: This is an external event caused by the
reception of SSF failure. This event causes a transition that maps into
the SCSM event (E9).
In this state, the SCF requests the SRF to provide user interaction
(e.g., collect additional information and/or play announcements). When
an interaction is finished the SCF can instruct the SSF to disconnect
the bearer between SSF and SRF. Alternatively, it can send a user
interaction operation to the SRF containing an indication that allows
the SRF initiated disconnect.
On entering this state the SCSM
resets the timer TSCF-SSF.
The following events cause transitions
out of this state:
- (e11) Continue_SCF_Processing: In this case, the SCF has obtained
all the information from the SRF, that is needed to instruct the SSF to
complete the call. This event causes a transition to State 2, Preparing
SSF Instructions.
To consider the processing of this state in more detail, it is
expanded into a separate FSM depicted in figure 21.
Figure 21: State 4 FSM
In this state, the SCF waits for the response to the previously sent
operation and evaluates this response. The following events are
considered in this state:
- (e4.1) More_Information_Needed results in issuing yet another
operation to the SRF; it causes a transition back to State 4.1;
- (E4.2) Response_from_SRF: This is an external event caused by the
reception of Specialized Resource Report or Return Result from
Prompt and Collect User Information operation. On the receipt of
this operation, the SCSM transits back to the same state;
- (E4.2') Final_Response_from_SRF: This is an external event caused
by the reception of Specialized Resource Report operation, as
requested by the SCF, in response to the previous Play Announcement
or Return Result from Prompt & Collect User Information
operation with permission of SRF-initiated disconnect. In the Initiating
SSF relay case and the Direct SCF-SRF case, on the receipt of this
event, the SCSM transits to the State 2, Preparing SSF Instructions.
This event maps into the event (e11);
- (e4.3) Continue_SCF_Processing: This is an internal event that
takes place when the SCSM finishes the User Interaction and requests the
disconnection of bearer connection between the Initiating SSF and SRF by
means of SCF initiated disconnect. In this case, the SCSM sends the Disconnect
Forward Connection operation to the Initiating SSF and transits to
the State 2, Preparing SSF Instructions. This event maps into
the event (e11);
- (e4.3') Continue_SCF_Processing: This is an internal event that
takes place when the SCSM finishes the User Interaction and requests the
disconnection of bearer connection between the Initiating SSF and SRF by
means of SRF-initiated disconnect, while an SpecializedResourceReport
operation is requested to be returned to the SCF in case an announcement
is completed. In this case, the SCSM sends the Play Announcement
(containing a request for returning a SpecializedResourceReport
operation as an indication of completion of the operation) or Prompt
and Collect operation with permission of SRF-initiated disconnect to
the SRF. In the case of Assisting SSF, the SRF-initiated disconnect
cannot be used. In this case, the SCSM transits back to the same state;
- (e4.3'') Continue_SCF_Processing: This is an internal event that
takes place when the SCSM finishes the User Interaction and requests the
disconnection of bearer connection between the Initiating SSF and SRF by
means of SRF initiated disconnect, while no SpecializedResourceReport
operation is requested to be returned to the SCF in case the
announcement is completed. In this case, the SCSM sends the PlayAnnouncement
operation (not containing a request for returning a
SpecializedResourceReport operation as an indication of completion
of the operation) with permission of SRF-initiated disconnect to the
SRF. In the case of Assisting SSF, the SRF-initiated disconnect cannot
be used. In this case, the SCSM transits to the state 2, Preparing
SSF Instructions. This event maps into the event (e11);
- (E4.5) Failure_from_SRF: This is an external event caused by the
reception of Return Error for Play Announcement or Return Error for
Prompt & Collect User Information operation. In this case, the SCSM
transits back to the same state.
- (e4.6) Refresh_Timer_Expired: This is an internal event that takes
place on the expiration of TSCF-SSF. In this case, the SCSM transmits
the Reset Timer operation to the Initiating/Assisting SSF, and
transits back to the same state; and
- (e4.7) Cancellation_Required: This is an internal event that takes
place when the SCSM cancels the previous Play Announcement or
Prompt & Collect User Information operation. In this case,
the SCSM sends the Cancel operation to the Assisting SSF (SSF
relay case) or the SRF (Direct SCF-SRF case), and transits back to the
same state.
It should be noted that the bearer connection between the SSF and
the SRF is disconnected when the SCSM exits from this state.
Section 7 Procedures
Contents Page