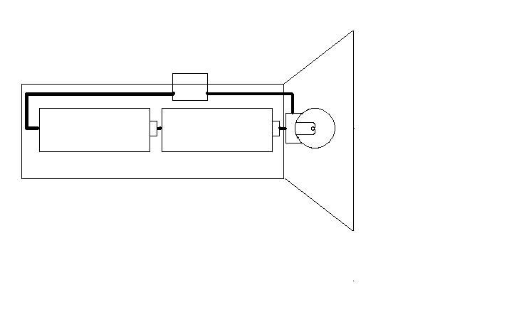
Battery - power supply        Bulb - transmitter        Reflector - antenna
 
 
First Previous Next Last